授权公布号:CN216419123U
一种高速分散釜
有效
申请
2021-11-19
申请公布
1970-01-01
授权
2022-05-03
预估到期
2031-11-19
| 申请号 | CN202122884961.1 |
| 申请日 | 2021-11-19 |
| 授权公布号 | CN216419123U |
| 授权公告日 | 2022-05-03 |
| 分类号 | B01F27/96;B01F27/90;B01F35/12;B01F35/32 |
| 分类 | 一般的物理或化学的方法或装置; |
| 申请人名称 | 攀枝花荣鑫油漆有限责任公司 |
| 申请人地址 | 四川省攀枝花市钒钛高新技术产业开发区兴钛路40号 |
专利法律状态
2022-05-03
授权
状态信息
授权
摘要
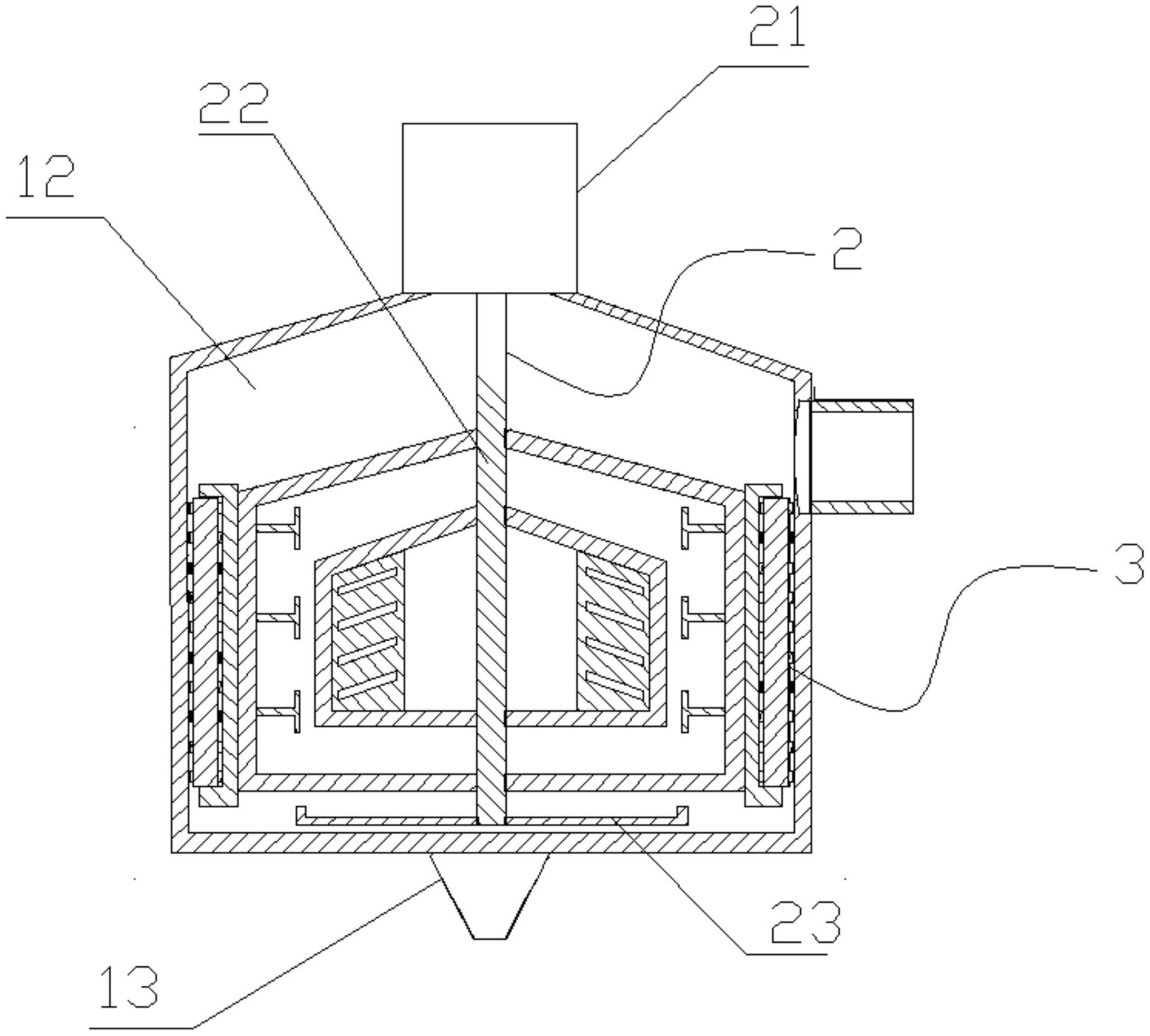
本实用新型涉及分散釜技术领域,具体涉及一种高速分散釜;高速分散釜包括釜体、搅拌支架和清洁件,搅拌支架设置于釜体的上侧,且与釜体转动连接,清洁件则设置于搅拌支架的外侧,且与搅拌支架拆卸连接;清洁件包括清洁辊和卡接头,清洁辊与卡接头转动连接,且清洁辊设置于卡接头靠近釜体的一侧,卡接头与搅拌支架拆卸连接,利用清洁辊配合卡接头,通过卡接头带动清洁辊转动,从而实现对釜体内部的自动清洁工作,从而有效提升分散釜的清洁效率。


