授权公布号:CN211471103U
一种新型臭氧水发生装置
有效
申请
2019-12-31
申请公布
1970-01-01
授权
2020-09-11
预估到期
2029-12-31
| 申请号 | CN201922470955.4 |
| 申请日 | 2019-12-31 |
| 授权公布号 | CN211471103U |
| 授权公告日 | 2020-09-11 |
| 分类号 | C02F9/08 |
| 分类 | 水、废水、污水或污泥的处理; |
| 申请人名称 | 徐州市九洲龙臭氧设备制造有限公司 |
| 申请人地址 | 江苏省徐州市城北开发区时代大道1号 |
专利法律状态
2020-09-11
授权
状态信息
授权
摘要
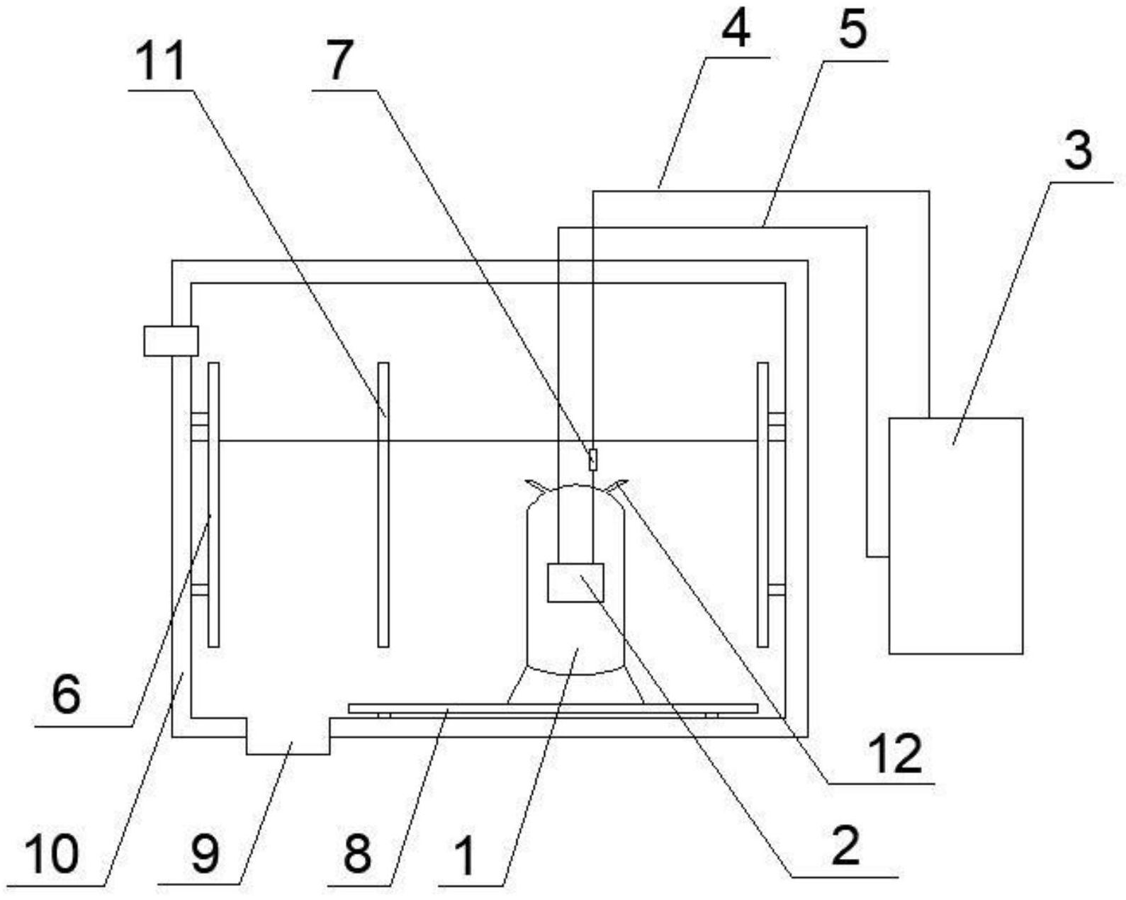
本实用新型公开了一种新型臭氧水发生装置,包括循环水缸,所述循环水缸包括进水口和出水口,所述循环水缸设置在水箱的中下部,所述循环水缸内中部设置有潜水泵,所述潜水泵与智能控制器相连接,所述循环水缸顶部设置有进水管和出水管,所述潜水泵与进水管、出水管相连接,所述水箱内壁设置有超声波装置,所述超声波装置与智能控制器相连接;所述循环水缸内部还设置有电流放大器,所述电流放大器的一端与智能控制器相连接,另一端与潜水泵相连接,所述智能控制器内设置有电源装置。本实用新型中在小型臭氧水发生装置中设置放大器,能够提高臭氧的发生量,提高污水处理的效率,能够不断循环过滤,以得到高度净化的水体。


