授权公布号:CN211311615U
一种高浓度新型臭氧发生装置
有效
申请
2019-12-31
申请公布
1970-01-01
授权
2020-08-21
预估到期
2029-12-31
| 申请号 | CN201922471064.0 |
| 申请日 | 2019-12-31 |
| 授权公布号 | CN211311615U |
| 授权公告日 | 2020-08-21 |
| 分类号 | C25B1/13 |
| 分类 | 电解或电泳工艺;其所用设备〔4〕; |
| 申请人名称 | 徐州市九洲龙臭氧设备制造有限公司 |
| 申请人地址 | 江苏省徐州市城北开发区时代大道1号 |
专利法律状态
2020-08-21
授权
状态信息
授权
摘要
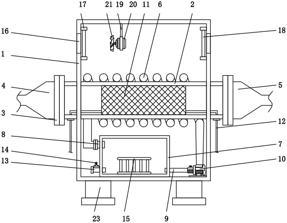
本实用新型提供一种高浓度新型臭氧发生装置。所述高浓度新型臭氧发生装置包括箱体,所述箱体内壁的两侧之间固定连接有搪瓷管,所述搪瓷管的两端均贯穿箱体并延伸至箱体的外部,所述搪瓷管的左端通过法兰连通有进气管,所述搪瓷管的右端通过法兰连通有出气管,所述搪瓷管的表面套设有冷却管。本实用新型提供的高浓度新型臭氧发生装置通过储水箱可以将冷却用水收集起来,使冷却水循环利用,大幅度的减少了水资源的浪费,通过散热电机和散热风扇可以将内部的热空气通过散热槽吹出,进一步的降低搪瓷管的工作温度,保证了搪瓷管的使用寿命,通过防尘网可以防止外部的灰尘进入箱体的内部,从而保证箱体内部工作环境的整洁。


