授权公布号:CN211971770U
一种板式臭氧发生装置
有效
申请
2019-12-31
申请公布
1970-01-01
授权
2020-11-20
预估到期
2029-12-31
| 申请号 | CN201922471146.5 |
| 申请日 | 2019-12-31 |
| 授权公布号 | CN211971770U |
| 授权公告日 | 2020-11-20 |
| 分类号 | C01B13/11 |
| 分类 | 无机化学; |
| 申请人名称 | 徐州市九洲龙臭氧设备制造有限公司 |
| 申请人地址 | 江苏省徐州市城北开发区时代大道1号 |
专利法律状态
2020-11-20
授权
状态信息
授权
摘要
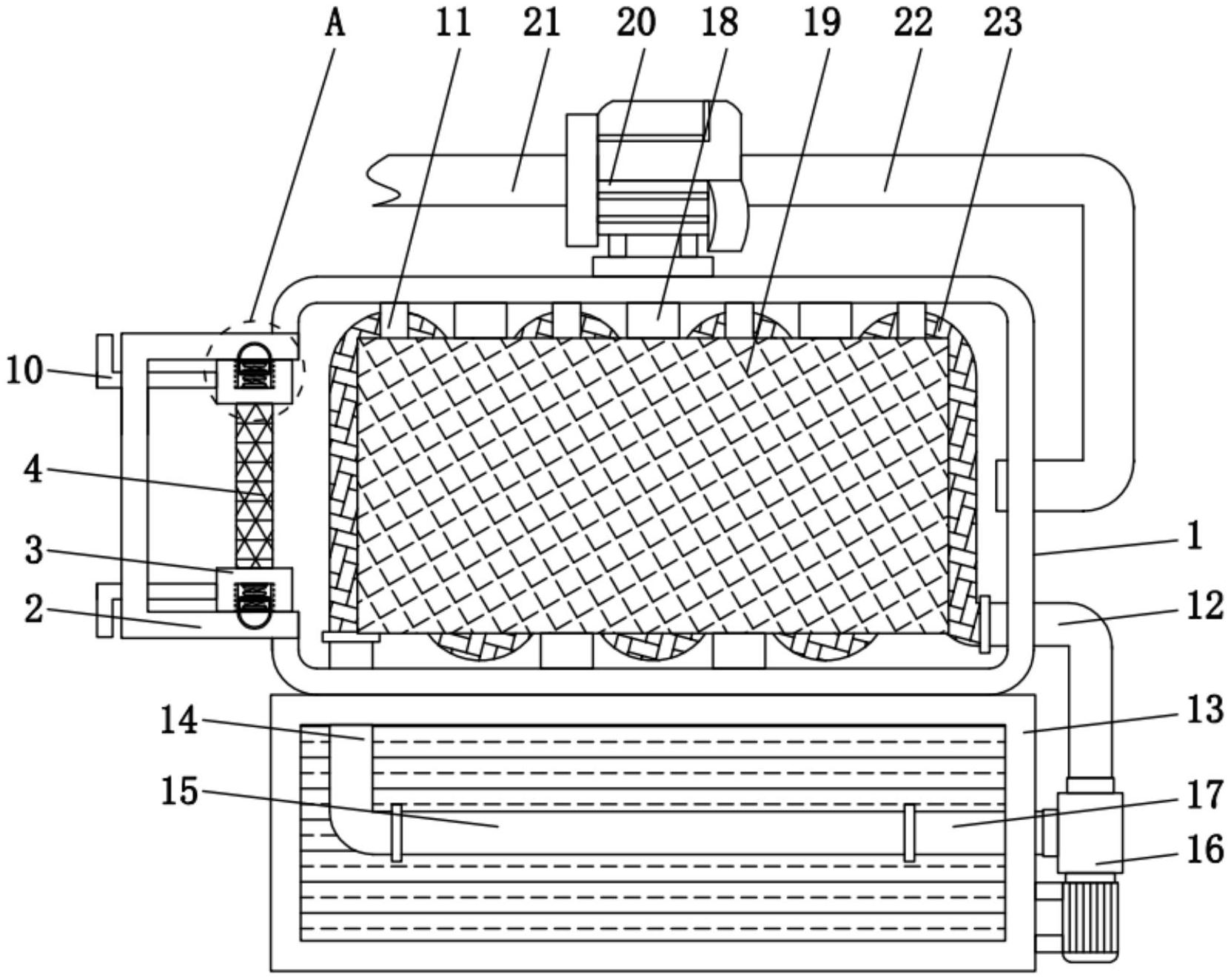
本实用新型提供一种板式臭氧发生装置。所述板式臭氧发生装置包括发生箱,所述发生箱的左侧贯穿有输送框,所述输送框内壁的顶部和底部均固定连接有密封板,两个所述密封板的相对一侧之间设置有过滤板,所述密封板与输送框的相对一侧分别开设有凹槽和卡槽,所述凹槽内壁的两侧之间滑动连接有卡框。本实用新型提供的板式臭氧发生装置通过卡槽、卡块、卡框、凹槽、密封板、过滤板、拉杆和输送框的配合使用,对发生装置内部的过滤进行快速取出清理,保证了发生装置生成出的臭氧的质量,通过冷却管、出液管、冷凝管、冷凝箱、进液管、进水管和冷凝泵的配合使用,可以对装置内部时刻进行冷却,保证了冷却效果,提高了生成的臭氧的浓度和产量。


