授权公布号:CN210187314U
一种油漆制造用砂磨装置
有效
申请
2019-05-06
申请公布
1970-01-01
授权
2020-03-27
预估到期
2029-05-06
| 申请号 | CN201920637279.2 |
| 申请日 | 2019-05-06 |
| 授权公布号 | CN210187314U |
| 授权公告日 | 2020-03-27 |
| 分类号 | B02C17/16;B02C17/18;B08B9/087 |
| 分类 | 破碎、磨粉或粉碎;谷物碾磨的预处理; |
| 申请人名称 | 广东华隆涂料实业有限公司 |
| 申请人地址 | 广东省佛山市顺德区容桂街道办事处华口社区居民委员会华天路6号 |
专利法律状态
2020-03-27
授权
状态信息
授权
摘要
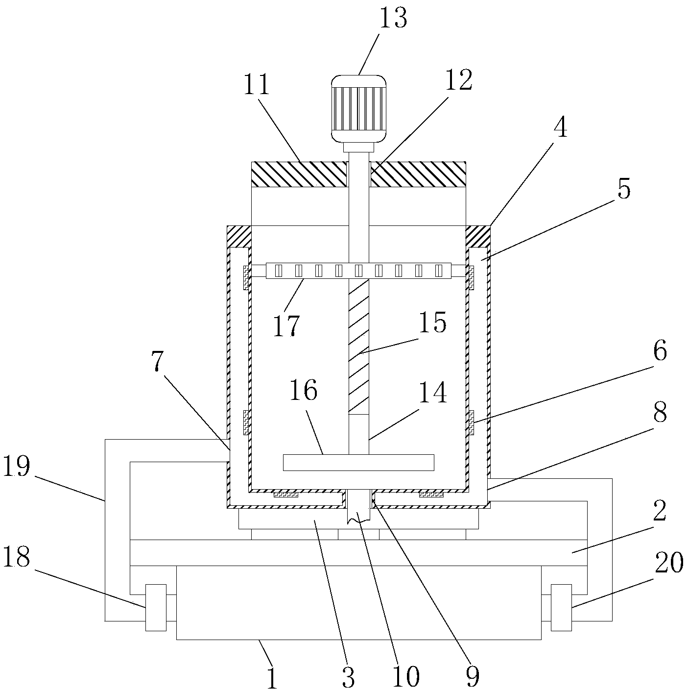
本实用新型涉及油漆技术领域,尤其是一种油漆制造用砂磨装置,包括水箱,水箱的顶端卡接有内焊接有底板,底板的顶端中部焊接有放置台,放置台的顶端放置有砂磨桶,砂磨桶的桶壁中部开设有冷却槽,冷却槽的一侧开设有进水口,冷却槽远离进水口的一侧开设有出水口,水箱的两侧安装有水循环机构,底板的顶端一侧焊接有倒L形支撑板,倒L形支撑板的顶端放置有电机,电机的底端通过轴套连接有转轴,转轴的外表面中部刻有外螺纹,转轴的底端焊接有分散盘,转轴上的外螺纹上螺纹连接有清洁板。本实用新型可以有效的提高分散效率,同时利用圆环状的冷却桶及时散热,保证产品的质量。


