授权公布号:CN212731836U
一种具有自动计量功能的混料机
有效
申请
2020-06-12
申请公布
1970-01-01
授权
2021-03-19
预估到期
2030-06-12
| 申请号 | CN202021083428.4 |
| 申请日 | 2020-06-12 |
| 授权公布号 | CN212731836U |
| 授权公告日 | 2021-03-19 |
| 分类号 | B01F7/18;B01F15/00;B01F15/02 |
| 分类 | 一般的物理或化学的方法或装置; |
| 申请人名称 | 潍坊万丰新材料科技有限公司 |
| 申请人地址 | 山东省潍坊市青州市高柳镇阳河工业园 |
专利法律状态
2023-07-07
专利权质押合同登记的生效、变更及注销
状态信息
专利权质押合同登记的生效;IPC(主分类):B01F7/18;登记号:Y2023980045266;登记生效日:20230621;出质人:潍坊万丰新材料科技有限公司;质权人:潍坊银行股份有限公司潍坊金马路支行;实用新型名称:一种具有自动计量功能的混料机;申请日:20200612;授权公告日:20210319
2023-07-07
专利权质押合同登记的生效、变更及注销
状态信息
专利权质押合同登记的注销;IPC(主分类):B01F7/18;授权公告日:20210319;申请日:20200612;登记号:Y2022980008298;出质人:潍坊万丰新材料科技有限公司;质权人:潍坊银行股份有限公司潍坊金马路支行;解除日:20230620
2022-07-08
专利权质押合同登记的生效、变更及注销
状态信息
专利权质押合同登记的生效;IPC(主分类):B01F7/18;登记号:Y2022980008298;登记生效日:20220621;出质人:潍坊万丰新材料科技有限公司;质权人:潍坊银行股份有限公司潍坊金马路支行;实用新型名称:一种具有自动计量功能的混料机;申请日:20200612;授权公告日:20210319
2021-03-19
授权
状态信息
授权
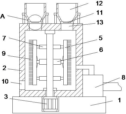
摘要
本实用新型公开了一种具有自动计量功能的混料机,包括基座,所述基座的上表面固定连接有混料筒和吸料泵,所述吸料泵的吸料端与混料筒的侧壁连通,所述基座的内部固定连接有第一电机,所述第一电机的驱动端贯穿混料筒的底壁延伸至混料筒的内部,且与混料筒的内顶壁转动连接,所述混料筒的顶部开设有四个进料口,四个所述进料口的上方均设置有进料斗,所述进料斗的外表面固定套接有支撑架,所述支撑架的四条支撑腿与混料筒的顶壁固定连接,本实用新型可直接进行四种物料的分别计量,最多可进行四种物料同时进行混料,提高了混料效率,且结构简单,并方便了后期对混料筒内部的清理。


