授权公布号:CN217313877U
一种生产高纯氢氧化镁用除杂装置
有效
申请
2022-04-02
申请公布
1970-01-01
授权
2022-08-30
预估到期
2032-04-02
| 申请号 | CN202220748040.4 |
| 申请日 | 2022-04-02 |
| 授权公布号 | CN217313877U |
| 授权公告日 | 2022-08-30 |
| 分类号 | B03C1/02;B08B1/02 |
| 分类 | 用液体或用风力摇床或风力跳汰机分离固体物料;从固体物料或流体中分离固体物料的磁或静电分离;高压电场分离〔5〕; |
| 申请人名称 | 潍坊万丰新材料科技有限公司 |
| 申请人地址 | 山东省潍坊市青州市高柳镇阳河工业园 |
专利法律状态
2023-11-17
专利权质押合同登记的生效、变更及注销
状态信息
专利权质押合同登记的注销;IPC(主分类):B03C1/02;授权公告日:20220830;申请日:20220402;专利号:ZL2022207480404;登记号:Y2022980023406;出质人:潍坊万丰新材料科技有限公司;质权人:中国邮政储蓄银行股份有限公司潍坊市分行;解除日:20231102
2022-12-09
专利权质押合同登记的生效、变更及注销
状态信息
专利权质押合同登记的生效;IPC(主分类):B03C1/02;登记号:Y2022980023406;登记生效日:20221124;出质人:潍坊万丰新材料科技有限公司;质权人:中国邮政储蓄银行股份有限公司潍坊市分行;实用新型名称:一种生产高纯氢氧化镁用除杂装置;申请日:20220402;授权公告日:20220830
2022-08-30
授权
状态信息
授权
摘要
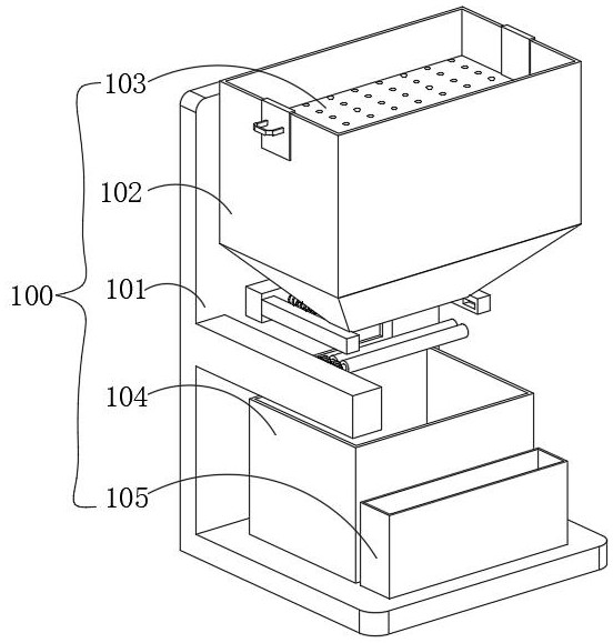
本实用新型公开了一种生产高纯氢氧化镁用除杂装置,包括机体、吸附机构和清理机构,所述机体包括支架、固接于支架端面的储料箱以及置于支架上并位于储料箱下方的接料盒,吸附机构包括设置于储料箱下方一侧的负重板、固装于负重板上的马达、可转动安装于负重板上的传动轴、套装于马达输出端和传动轴上并啮合传动的齿轮、固接于马达输出端和传动轴端部的吸附套以及固装于吸附套内的电磁铁,所述吸附套位于储料箱出料口的下方,所述清理机构位于支架上,用于清理吸附套上的磁性废屑,通过设置吸附机构,电磁铁通过吸附套将物料中的磁性废屑进行吸附,且吸附套转动的时候,可以将物料分开,有利于提高吸附的效果。


