授权公布号:CN215241789U
一种地质勘探用混凝土搅拌机
有效
申请
2021-03-17
申请公布
1970-01-01
授权
2021-12-21
预估到期
2031-03-17
| 申请号 | CN202120552074.1 |
| 申请日 | 2021-03-17 |
| 授权公布号 | CN215241789U |
| 授权公告日 | 2021-12-21 |
| 分类号 | B28C5/16;B28C7/06;B28C7/12;B08B9/093 |
| 分类 | 加工水泥、黏土或石料; |
| 申请人名称 | 佛山市汇江混凝土有限公司 |
| 申请人地址 | 广东省佛山市南海区平洲平胜工业区 |
专利法律状态
2021-12-21
授权
状态信息
授权
摘要
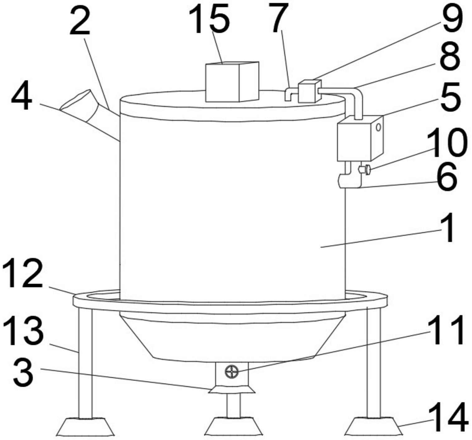
本实用新型公开了一种地质勘探用混凝土搅拌机,包括桶体,所述桶体一侧设置有圆形框架,所述桶体外侧表面下端固定连接有固定座,所述固定座一侧表面设置有弹簧套,所述弹簧套内部设置有第一缓冲弹簧,所述第一缓冲弹簧下端滑动连接有缓冲柱,所述缓冲柱远离第一缓冲弹簧一端设置有底板,所述底板内部设置有第二缓冲弹簧,所述底板一侧表面固定连接有连接杆,本实用新型通过设置的第一缓冲弹簧和第二缓冲弹簧,使得缓冲柱具有左右滑动的效果,既可对混凝土搅拌机在工作的过程中起到缓冲作用,也可避免电机对桶体内部所产生的搅拌力度较大,使得混凝土搅拌机在工作的过程中不稳定,桶体抖动严重,从而降低混凝土搅拌机的使用寿命。


