授权公布号:CN107877313B
一种建筑施工用钢纤维混凝土清理装置
有效
申请
2017-10-26
申请公布
2018-04-06
授权
2020-01-17
预估到期
2037-10-26
| 申请号 | CN201711011809.4 |
| 申请日 | 2017-10-26 |
| 申请公布号 | CN107877313A |
| 申请公布日 | 2018-04-06 |
| 授权公布号 | CN107877313B |
| 授权公告日 | 2020-01-17 |
| 分类号 | B24B19/22;B24B55/06 |
| 分类 | 磨削;抛光; |
| 申请人名称 | 佛山市汇江混凝土有限公司 |
| 申请人地址 | 广东省佛山市南海区平洲平胜工业区 |
专利法律状态
2020-01-17
授权
状态信息
授权
2020-01-10
专利申请权、专利权的转移
状态信息
专利申请权的转移;IPC(主分类):B24B 19/22;专利申请号:2017110118094;登记生效日:20191223;变更事项:申请人;变更前权利人:郑州诚合信息技术有限公司;变更后权利人:佛山市汇江混凝土有限公司;变更事项:地址;变更前权利人:450000 河南省郑州市高新技术产业开发区瑞达路96号创业中心1号楼c260室;变更后权利人:528000 广东省佛山市南海区平洲平胜工业区
2018-05-01
实质审查的生效
状态信息
实质审查的生效;IPC(主分类):B24B 19/22;专利申请号:2017110118094;申请日:20171026
2018-04-06
发明专利申请公布
状态信息
公布
摘要
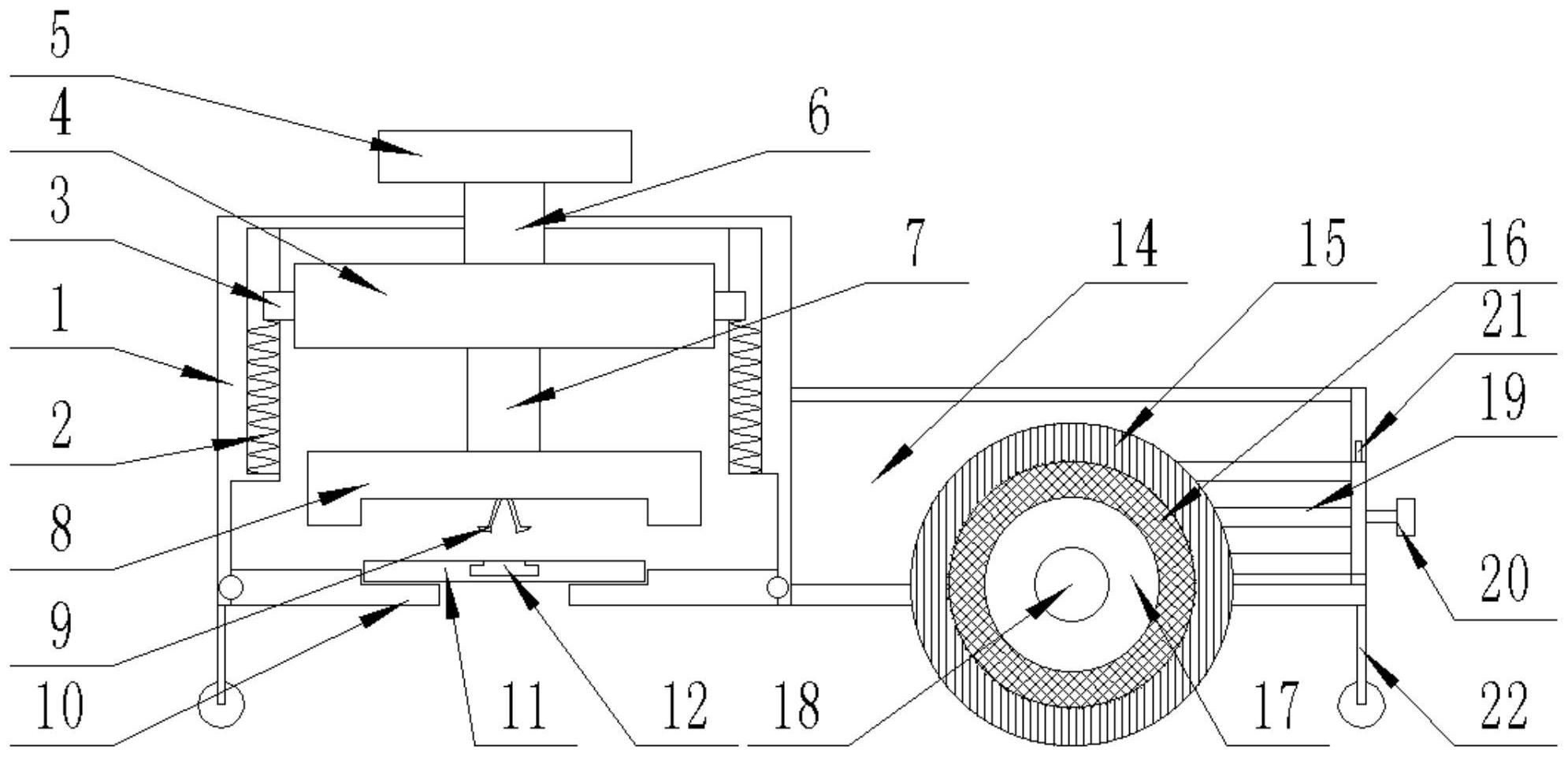
本发明提供了一种建筑施工用钢纤维混凝土清理装置,属于建筑施工领域。包括主箱体;所述主箱体上端面竖直穿过伸缩杆;所述伸缩杆下端水平固接有转动机;所述转动机左右两侧水平固接有两个滑块且两个滑块插在主箱体左右两侧壁中;所述两个滑块下端竖直固接有两个弹簧且两个弹簧下端固接在主箱体两侧内壁中;所述转动机下端连接有转动轴;本发明的伸缩杆便于在主箱体上表面上下移动;踏板便于下压伸缩杆;伸缩杆便于带动转动机上下移动;转动机便于通过滑块在主箱体中上下移动;当滑块向下移动时,滑块压缩弹簧,当松开滑块时,弹簧弹起滑块;转动机带动转动轴旋转;转动轴便于带动转动盘旋转且转动轴便于带动转动盘上下移动。


