授权公布号:CN204642771U
一种成品砂浆罐的防离析装置
有效
申请
2015-04-13
申请公布
1970-01-01
授权
2015-09-16
预估到期
2025-04-13
| 申请号 | CN201520218451.2 |
| 申请日 | 2015-04-13 |
| 授权公布号 | CN204642771U |
| 授权公告日 | 2015-09-16 |
| 分类号 | B65D90/00 |
| 分类 | 输送;包装;贮存;搬运薄的或细丝状材料; |
| 申请人名称 | 浙江忠信新型建材股份有限公司 |
| 申请人地址 | 浙江省台州市临海市大洋办事处五孔岙村 |
专利法律状态
2022-08-05
专利申请权、专利权的转移
状态信息
专利权的转移;IPC(主分类):B65D90/00;登记生效日:20220726;变更事项:专利权人;变更前:浙江忠信新型建材股份有限公司;变更后:临海市忠信新型建材有限公司;变更事项:地址;变更前:317000 浙江省台州市临海市大洋办事处五孔岙村;变更后:317000 浙江省台州市临海市大洋办事处五孔岙村
2015-12-02
专利权人的姓名或者名称、地址的变更
状态信息
专利权人的姓名或者名称、地址的变更;IPC(主分类):B65D90/00;变更事项:专利权人;变更前:浙江忠信新型建材有限公司;变更后:浙江忠信新型建材股份有限公司;变更事项:地址;变更前:317000 浙江省台州市临海市大洋办事处五孔岙村;变更后:317000 浙江省台州市临海市大洋办事处五孔岙村
2015-09-16
授权
状态信息
授权
摘要
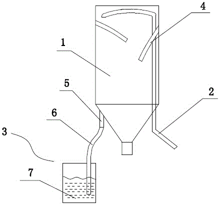
本实用新型公开了一种成品砂浆罐的防离析装置,包括罐体及伸入到罐体内部的打料管,收尘装置,其特征在于防离析装置为弧形挡板,所述弧形挡板的一端与罐体内壁固定连接且与罐体内壁呈30-35度角倾斜设置。本实用新型结构新颖、设计合理,通过在罐体内部设置弧形挡板,确保砂浆的下落过程中出现离析现象,同时将弧形挡板与罐体内壁呈30-35度角设置,且至少交叉设置有两个,增强砂浆打料时产品的均匀性,进一步防止离析现象的发生;收尘装置的设置,在排气防尘方面可有效的对气体中带出的粉尘进行水过滤,降低粉尘对大气的污染。


