授权公布号:CN215179443U
一种机制砂自动测定细度装置
有效
申请
2021-05-19
申请公布
1970-01-01
授权
2021-12-14
预估到期
2031-05-19
| 申请号 | CN202121073973.X |
| 申请日 | 2021-05-19 |
| 授权公布号 | CN215179443U |
| 授权公告日 | 2021-12-14 |
| 分类号 | G01N15/02;G01N5/04;B07B1/28;B07B1/46 |
| 分类 | 测量;测试; |
| 申请人名称 | 武汉源锦商品混凝土有限公司 |
| 申请人地址 | 湖北省武汉市汉阳区永丰街徐湾村(董家店村) |
专利法律状态
2021-12-14
授权
状态信息
授权
摘要
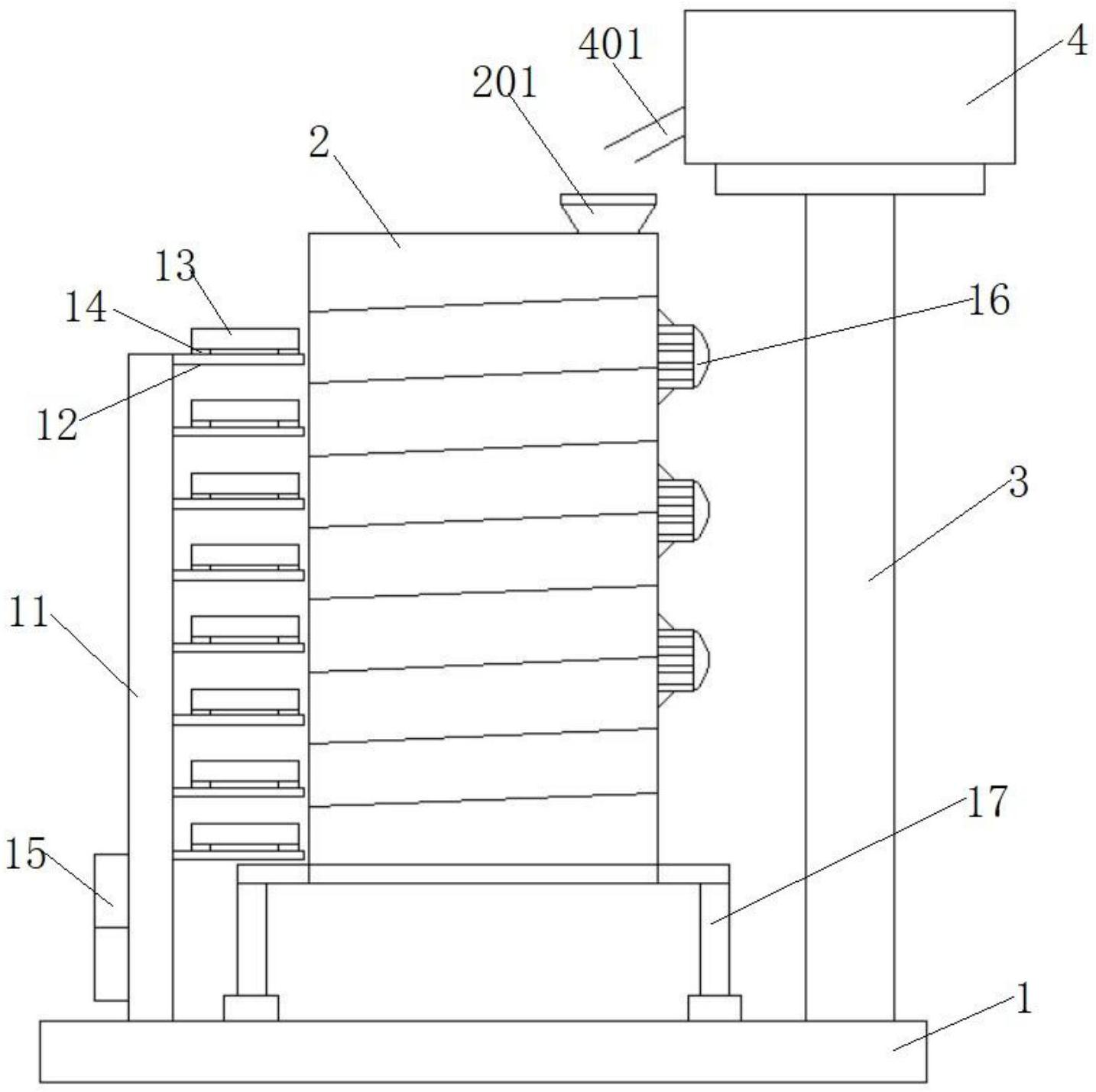
本实用新型公开一种机制砂自动测定细度装置,包括底座、振动筛分仓、烘干箱,所述振动筛分仓内从上上至下依次设有若干筛孔尺寸渐小的筛板组件,所述筛板组件均倾斜设置并可拆卸的安装在所述振动筛分仓内;所述振动筛分仓远离所述进料口的侧壁上设有若干自动出砂口和密封门;所述底座上还设有第二支架,所述第二支架的同侧从上至下依次设有若干水平安装板,每个所述水平安装板上均设有称重筐,所述称重筐从上至下依次与所述筛板组件对应设置,所述第二支架上还设有接收并处理重量信息的控制器;本测定细度装置功能齐全、易于使用,能够自动烘干砂样并对砂样进行筛分分级,自动测量并计算出机制砂的细度分布。


