授权公布号:CN219716366U
一种LED显示屏的底壳与PCB板的装配结构
有效
申请
2023-04-19
申请公布
1970-01-01
授权
2023-09-19
预估到期
2033-04-19
| 申请号 | CN202320888323.3 |
| 申请日 | 2023-04-19 |
| 授权公布号 | CN219716366U |
| 授权公告日 | 2023-09-19 |
| 分类号 | G09F9/33;H05K7/14 |
| 分类 | 教育;密码术;显示;广告;印鉴; |
| 申请人名称 | 厦门强力巨彩光电科技有限公司 |
| 申请人地址 | 福建省厦门市火炬高新区(翔安)产业区翔安西路E6幢8065号 |
专利法律状态
2023-09-19
授权
状态信息
授权
摘要
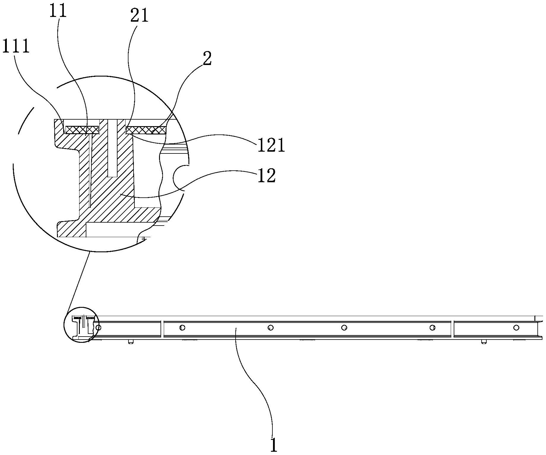
本实用新型公开了一种LED显示屏的底壳与PCB板的装配结构,所述底壳的内侧边缘处形成有直角支撑部,所述底壳的内底面上凸设有多根支撑柱,所述PCB板上设有多个穿孔,每一支撑柱对位于一穿孔,所述PCB板抵于直角支撑部的水平面上,所述底壳与PCB板通过穿设螺丝实现固定在一起;本实用新型通过直角支撑部的结构设置,使得PCB板抵于直角支撑部的水平面上,从而增大了PCB板与直角支撑部的接触面积,以防止漏胶。


