授权公布号:CN218186263U
一种窗帘滑轮结构、窗帘滑轨组件和窗帘装置
有效
申请
2022-08-04
申请公布
1970-01-01
授权
2023-01-03
预估到期
2032-08-04
| 申请号 | CN202222049038.0 |
| 申请日 | 2022-08-04 |
| 授权公布号 | CN218186263U |
| 授权公告日 | 2023-01-03 |
| 分类号 | A47H15/02;A47H1/04 |
| 分类 | 家具;家庭用的物品或设备;咖啡磨;香料磨;一般吸尘器; |
| 申请人名称 | 广东创明遮阳科技有限公司 |
| 申请人地址 | 广东省广州市萝岗区科学城科学大道科汇发展中心科汇二街4号401室 |
专利法律状态
2023-01-03
授权
状态信息
授权
摘要
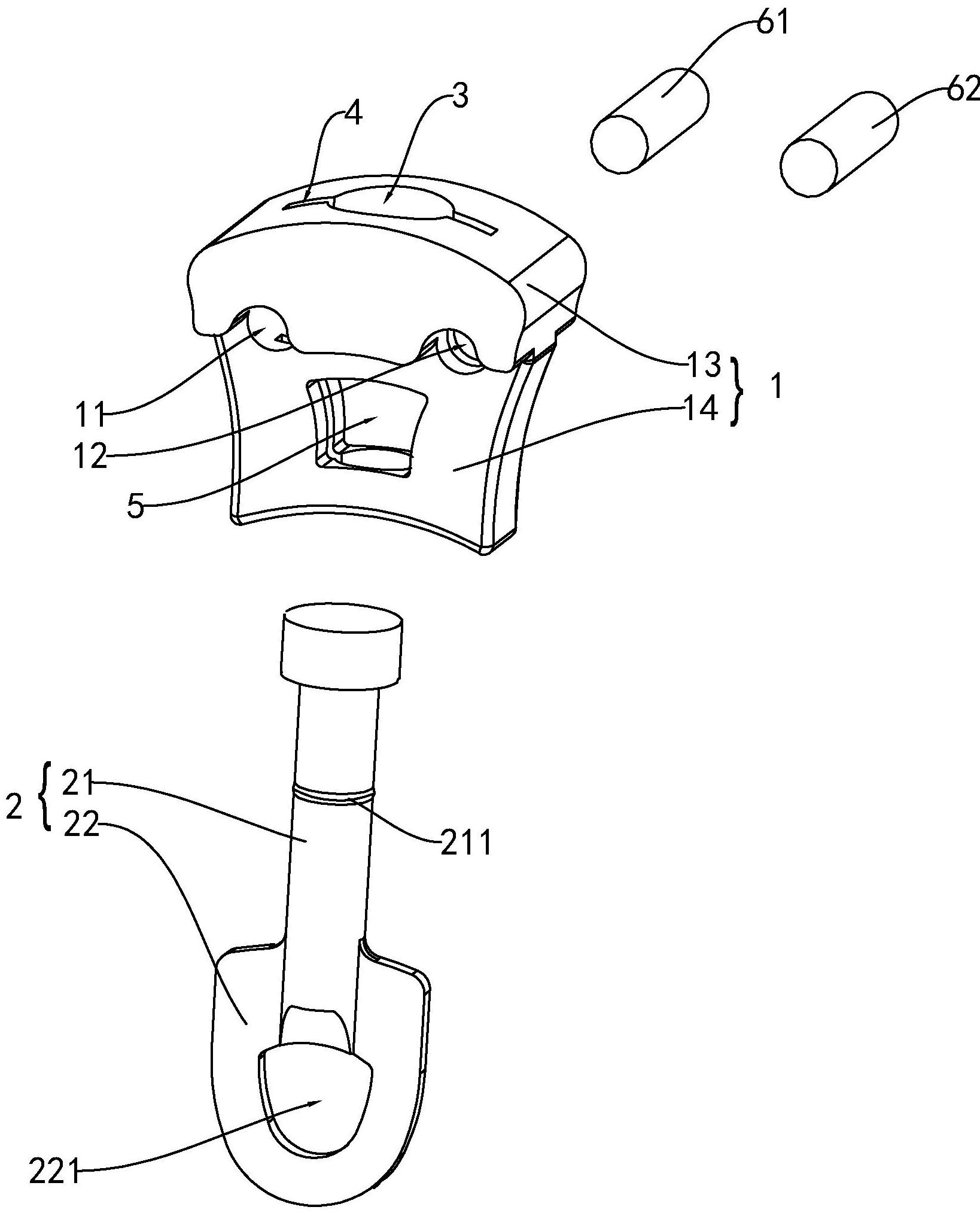
本实用新型公开了一种窗帘滑轮结构、窗帘滑轨组件和窗帘装置,包括座体、滚轴和旋转连接部。其中,座体设有沿上下方向贯通的阶梯孔和沿左右方向贯通的滚轮孔;滚轴穿设于滚轴孔,滚轴的两端至少有底部部位露出于座体;旋转连接部包括旋转部和设于旋转部的底部的连接部,旋转部与阶梯孔配合,连接部伸出座体,旋转连接部能够相对于阶梯孔任意转动。该技术方案的窗帘滑轮结构、窗帘滑轨组件和窗帘装置能够抵消从不同角度拉拽布帘时对座体带来的压力,极大地减少了噪音的产生,降噪效果大大提升,整体性更强,能够满足拉拽时的受力要求,承重性更好。


