授权公布号:CN105804625B
一种百叶帘的绕绳与梯带绳机构的一体装置和工作方法
有效
申请
2016-04-29
申请公布
2016-07-27
授权
2017-09-12
预估到期
2036-04-29
| 申请号 | CN201610276018.3 |
| 申请日 | 2016-04-29 |
| 申请公布号 | CN105804625A |
| 申请公布日 | 2016-07-27 |
| 授权公布号 | CN105804625B |
| 授权公告日 | 2017-09-12 |
| 分类号 | E06B9/28 |
| 分类 | 一般门、窗、百叶窗或卷辊遮帘;梯子; |
| 申请人名称 | 上海青鹰实业股份有限公司 |
| 申请人地址 | 上海市杨浦区国定路335号 |
专利法律状态
2017-09-12
授权
状态信息
授权
2016-08-24
实质审查的生效
状态信息
实质审查的生效;IPC(主分类):E06B9/28;申请日:20160429
2016-07-27
公布
状态信息
公布
摘要
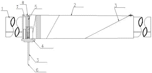
本发明涉及一种百叶帘的绕绳与梯带绳机构的一体装置,包括轴管、卷绳筒和底座,通过在卷绳筒上缠绕提拉绳控制百叶帘体的升降,通过在卷绳筒上设置扭力弹簧,在扭力弹簧上的端脚上设置梯带绳,通过梯带绳控制帘片的转动,可使百叶帘在升起或下放过程中各帘片处于统一的翻转角度,具有很好的美观性和实用性。


