授权公布号:CN205638193U
智能一体化的管状电机
有效
申请
2016-04-28
申请公布
1970-01-01
授权
2016-10-12
预估到期
2026-04-28
| 申请号 | CN201620370263.6 |
| 申请日 | 2016-04-28 |
| 授权公布号 | CN205638193U |
| 授权公告日 | 2016-10-12 |
| 分类号 | E06B9/68 |
| 分类 | 一般门、窗、百叶窗或卷辊遮帘;梯子; |
| 申请人名称 | 上海青鹰实业股份有限公司 |
| 申请人地址 | 上海市杨浦区国定路335号 |
专利法律状态
2016-10-12
授权
状态信息
授权
摘要
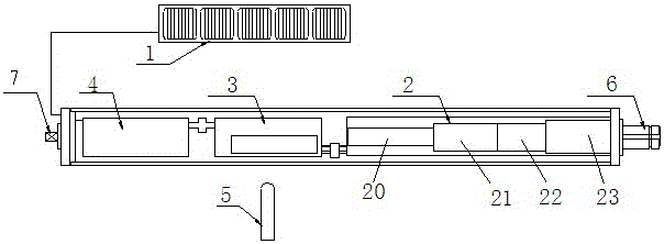
本实用新型涉及一种智能一体化的管状电机,包括安置在套管一端的机械总成,所述机械总成包括依次串接安置在所述的套管中的行程限位器、传动电机、刹车装置以及减速装置;还包括安置在套管另一端的供能装置和控制模块,所述供能装置包括设置于管状电机外部的光伏板、以及内置于套管内与所述光伏板相连接的蓄电池,蓄电池为控制模块及机械总成供电;所述控制模块与传动电机控制连接。本装置利用清洁能源的薄膜光伏板作为发电源,并蓄贮于腔內锂电池内.确保电机能连续运转而不断电。


