授权公布号:CN217640359U
一种火灾检测终端设备箱
有效
申请
2022-05-19
申请公布
1970-01-01
授权
2022-10-21
预估到期
2032-05-19
| 申请号 | CN202221259126.7 |
| 申请日 | 2022-05-19 |
| 授权公布号 | CN217640359U |
| 授权公告日 | 2022-10-21 |
| 分类号 | G08B17/00;B08B5/04 |
| 分类 | 信号装置; |
| 申请人名称 | 浙江台谊消防股份有限公司 |
| 申请人地址 | 浙江省嘉兴市海宁市长安镇(农发区)春潮路16号 |
专利法律状态
2022-10-21
授权
状态信息
授权
摘要
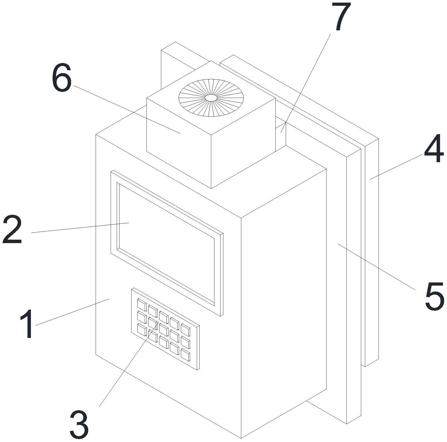
本实用新型涉及火灾控制系统技术领域,且公开了一种火灾检测终端设备箱,包括设备箱,设备箱的内部设置有检测设备,设备箱的前端壁面顶部设置有限制面板,设备箱的前端壁面底部设置有控制面板,设备箱的后端设置有开合门板,开合门板和设备箱之间左端设置有活动铰链,通过活动铰链使得设备箱和开合门板相互活动连接,本实用新型中,该一种火灾检测终端设备箱,通过除尘风机和设备箱外侧环形设置的除尘环以及使得除尘环与设备箱内部相互连通的除尘孔,从而能够有效的对设备箱内部进行环形多角度的吸尘式气流传动,从而能够有效的提高对设备箱内部和设备箱外侧附近灰尘进行导向处理的效果,降低灰尘对设备箱内部设备造成损伤的情况发生。


