授权公布号:CN209568845U
用于高保温防火入户门的断桥结构门框
有效
申请
2018-08-29
申请公布
1970-01-01
授权
2019-11-01
预估到期
2028-08-29
| 申请号 | CN201821406270.2 |
| 申请日 | 2018-08-29 |
| 授权公布号 | CN209568845U |
| 授权公告日 | 2019-11-01 |
| 分类号 | E06B1/52;E06B1/14 |
| 分类 | 一般门、窗、百叶窗或卷辊遮帘;梯子; |
| 申请人名称 | 亚萨合莱天明(北京)门业有限公司 |
| 申请人地址 | 北京市通州区张家湾镇枣林庄村 |
专利法律状态
2019-11-01
授权
状态信息
授权
摘要
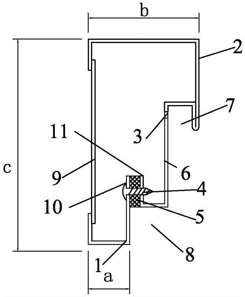
本实用新型公开了一种用于高保温防火入户门的断桥结构门框,其包括有相互对扣组合连接固定的第一门框、第二门框,所述第一门框、第二门框相互对扣连接组合后,其中一侧经由导热效率低的墙面连接板连接固定,另一侧陶瓷纤维板间隔开后由连接件连接固定;所述第一门框与所述第二门框对扣组合连接后形成双台阶结构,所述第二门框的其中一侧壁直接形成第一台阶,所述第一门框与所述第二门框连接固定后形成第二台阶;所述第二门框在形成第一台阶的侧壁上冲压形成有多个间隔开、呈断桥结构的隔热槽。


