授权公布号:CN220648445U
空调器室内机的加湿装置及空调器室内机
有效
申请
2023-07-27
申请公布
1970-01-01
授权
2024-03-22
预估到期
2033-07-27
| 申请号 | CN202322004514.1 |
| 申请日 | 2023-07-27 |
| 授权公布号 | CN220648445U |
| 授权公告日 | 2024-03-22 |
| 分类号 | F24F1/0087;F24F13/00;F24F6/00 |
| 分类 | 供热;炉灶;通风; |
| 申请人名称 | 青岛海尔空调器有限总公司 |
| 申请人地址 | 山东省青岛市崂山区海尔路1号海尔工业园 |
专利法律状态
2024-03-22
授权
状态信息
授权
摘要
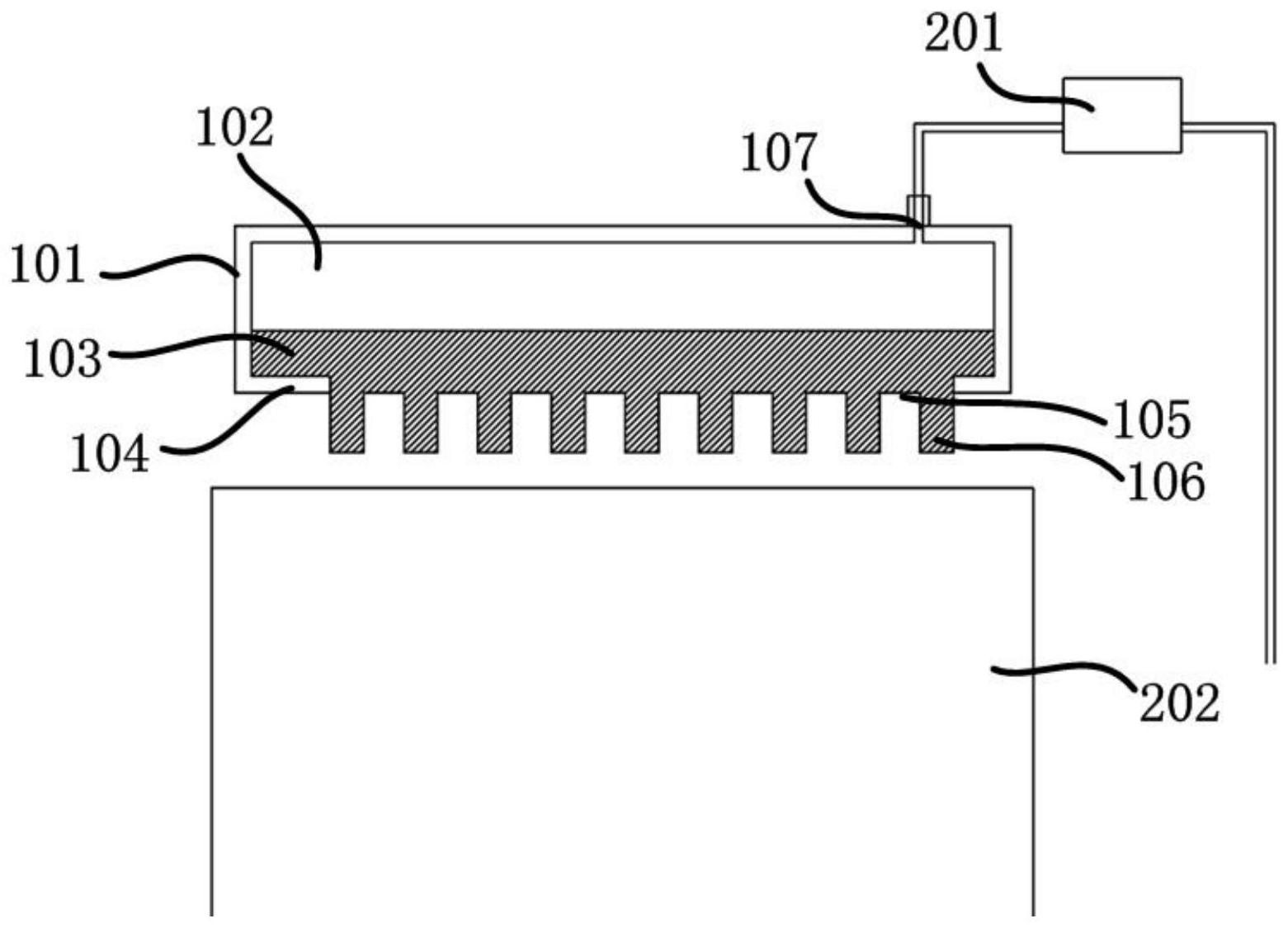
本实用新型提供了一种空调器室内机的加湿装置及空调器室内机。空调器室内机的加湿装置包括储水腔体与透水件。储水腔体具有底壁和处于底壁上侧的密闭的储水腔,底壁具有开口,储水腔体上还具有与储水腔连通的加压口。透水件设置于储水腔内,透水件封堵开口,以使储水腔的水穿过透水件并分布于透水件的下表面。加压口的设置可使水流的速度更快,所以到达透水件的下表面的水增多,使透水件的透水效率更高,透水效果更好,透水更加均匀。


