授权公布号:CN220648449U
一种空调室内机
有效
申请
2023-08-29
申请公布
1970-01-01
授权
2024-03-22
预估到期
2033-08-29
| 申请号 | CN202322330667.5 |
| 申请日 | 2023-08-29 |
| 授权公布号 | CN220648449U |
| 授权公告日 | 2024-03-22 |
| 分类号 | F24F1/0087;F24F13/00;F24F11/89;F24F13/24 |
| 分类 | 供热;炉灶;通风; |
| 申请人名称 | 青岛海尔空调器有限总公司 |
| 申请人地址 | 山东省青岛市崂山区海尔路1号海尔工业园 |
专利法律状态
2024-03-22
授权
状态信息
授权
摘要
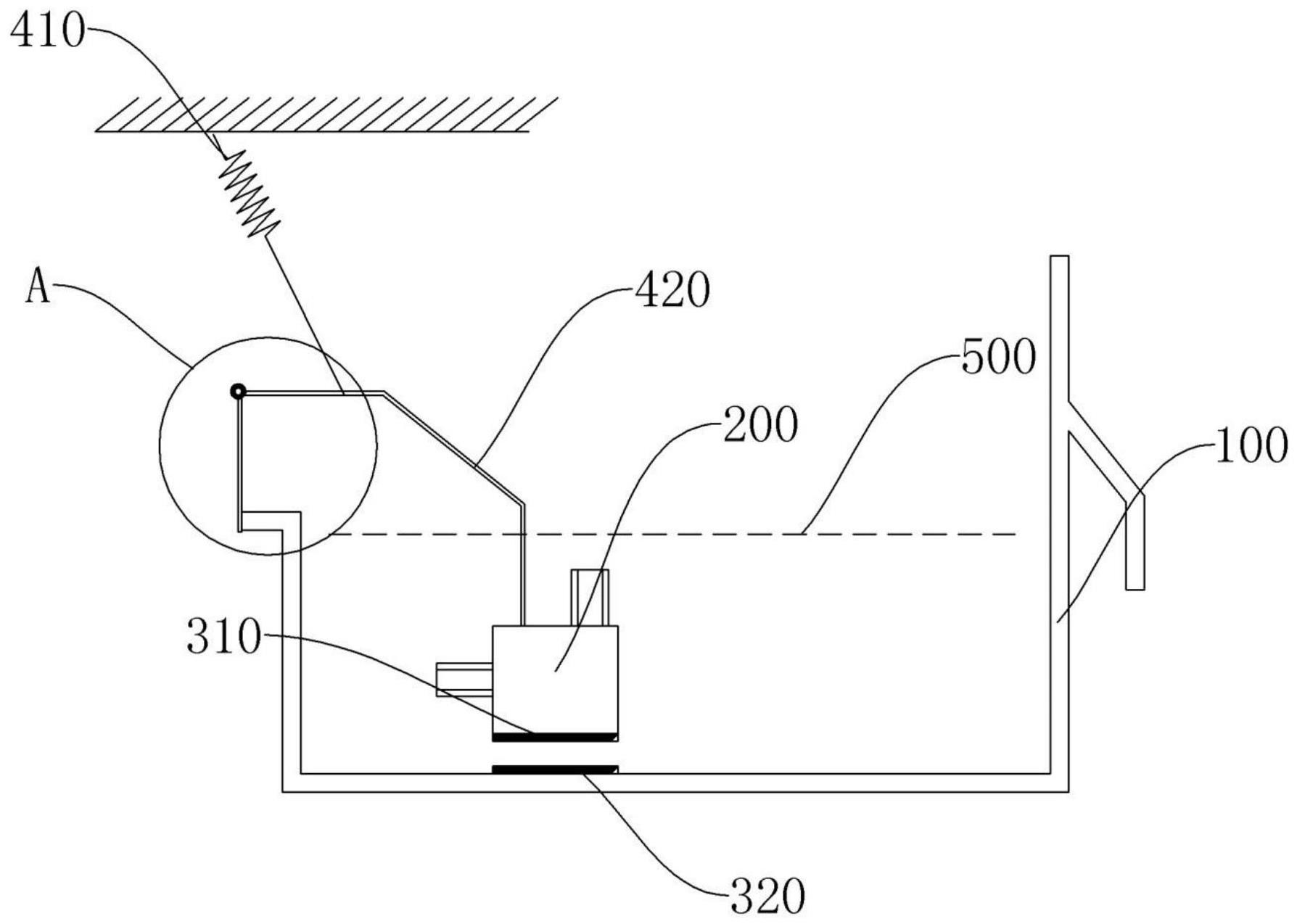
本实用新型提供了一种空调室内机。水泵设置于水箱内,且与水箱底壁间隔设置。缓冲组件包括第一磁体和第二磁体,第一磁体设置在水泵上。第二磁体和第一磁体的磁极相同,第二磁体设置于水箱底壁,且位于第一磁体的下方。由于第一磁体和第二磁体磁极相同,从而在水泵和水箱底壁相互靠近时,第一磁体和第二磁体之间的斥力逐渐增强,且第一磁体和第二磁体之间的斥力使水箱和水泵之间保持间隔设置,以防止水泵和水箱发生碰撞。与此同时,第一磁体和第二磁体之间的斥力会在水箱底壁和水泵之间形成缓冲的斥力磁场,因此在水泵工作时,斥力磁场能够吸收水泵振动产生的动能,从而对水泵具有减震和降噪的效果。


