授权公布号:CN206920336U
光泽度仪
有效
申请
2017-07-06
申请公布
1970-01-01
授权
2018-01-23
预估到期
2027-07-06
| 申请号 | CN201720817094.0 |
| 申请日 | 2017-07-06 |
| 授权公布号 | CN206920336U |
| 授权公告日 | 2018-01-23 |
| 分类号 | G01N21/57;G01N21/01 |
| 分类 | 测量;测试; |
| 申请人名称 | 深圳市林上科技有限公司 |
| 申请人地址 | 广东省深圳市宝安区五区新安一路南天辉商厦4楼407房、408房 |
专利法律状态
2018-01-23
授权
状态信息
授权
摘要
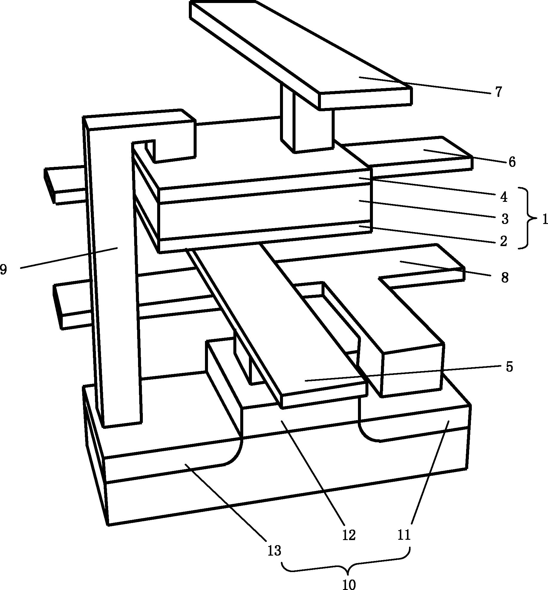
本实用新型提供了一种光泽度仪,包括外壳、位于外壳下方且与其可拆卸连接的标准座,以及设于外壳内部的固定座,固定座的相对两端分别固定有光源组件和接收组件,固定座的一侧设有霍尔器件,标准座的内部设有标准板,固定座的底部与标准板相贴合,且霍尔器件与标准板相对设置,固定座的相对两端还设有第一磁铁,标准座上设有与第一磁铁吸附配合的第二磁铁。本实用新型提供的光泽度仪,通过霍尔器件对标准板和固定座之间的位置进行判断,从而判断光源组件射至标准板或射至待测件,能够有效地弥补由于当前环境因素所导致的测量结果的不准确,省去了校准的操作,不需要按键和旋钮等进行调值,给使用和操作带来了极大的便利。


