授权公布号:CN216207174U
一种通过光干涉原理检测玻璃钢化程度的应力仪
有效
申请
2021-10-19
申请公布
1970-01-01
授权
2022-04-05
预估到期
2031-10-19
| 申请号 | CN202122517096.7 |
| 申请日 | 2021-10-19 |
| 授权公布号 | CN216207174U |
| 授权公告日 | 2022-04-05 |
| 分类号 | G01L5/00 |
| 分类 | 测量;测试; |
| 申请人名称 | 深圳市速德瑞科技有限公司 |
| 申请人地址 | 广东省深圳市龙华新区大浪街道河背工业区河盛工业园1栋601 |
专利法律状态
2022-04-05
授权
状态信息
授权
摘要
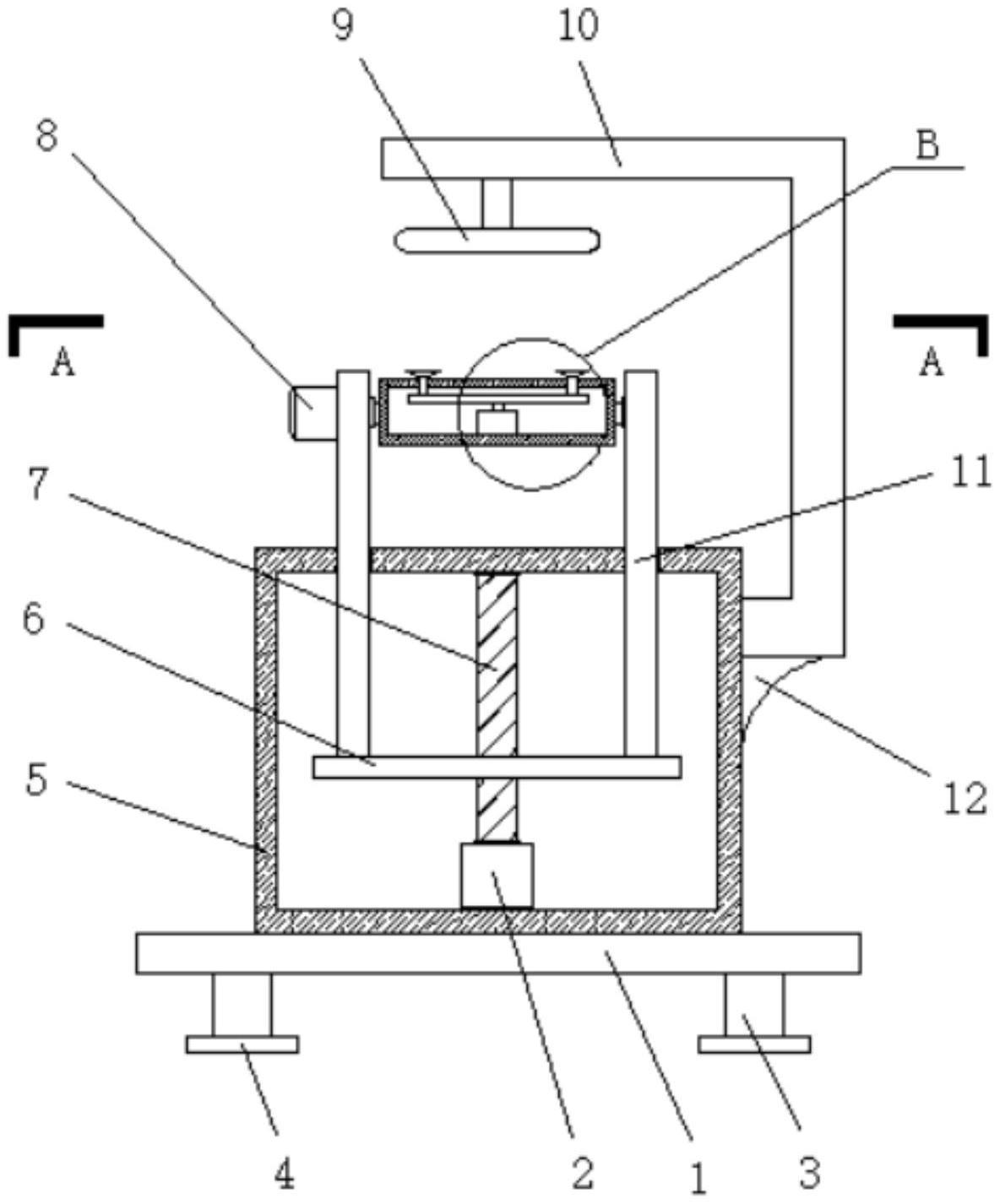
本实用新型公开了一种通过光干涉原理检测玻璃钢化程度的应力仪,包括底板,所述底板的顶部固定安装有固定底座,所述固定底座的内部设置有空腔,所述固定底座内侧的底部固定安装有第一电机,所述第一电机的输出端固定安装有螺纹杆,所述螺纹杆的一端与所述固定底座内侧的顶壁活动连接,所述螺纹杆的外表面螺纹套接有活动板,所述活动板的顶部固定安装有两块固定板,且两块所述固定板为对称分布,两块所述固定板的顶部均延伸至所述固定底座的顶部,其中一块所述固定板的左侧固定安装有第二电机,两块所述固定板之间活动安装有固定座。本实用新型通过设置一系列的结构使得本实用新型具有调整高度和角度的作用。


