授权公布号:CN216206207U
一种通过对水滴角度测量的水滴角测量仪
有效
申请
2021-11-02
申请公布
1970-01-01
授权
2022-04-05
预估到期
2031-11-02
| 申请号 | CN202122661576.0 |
| 申请日 | 2021-11-02 |
| 授权公布号 | CN216206207U |
| 授权公告日 | 2022-04-05 |
| 分类号 | G01B21/22 |
| 分类 | 测量;测试; |
| 申请人名称 | 深圳市速德瑞科技有限公司 |
| 申请人地址 | 广东省深圳市龙华新区大浪街道河背工业区河盛工业园1栋601 |
专利法律状态
2022-04-05
授权
状态信息
授权
摘要
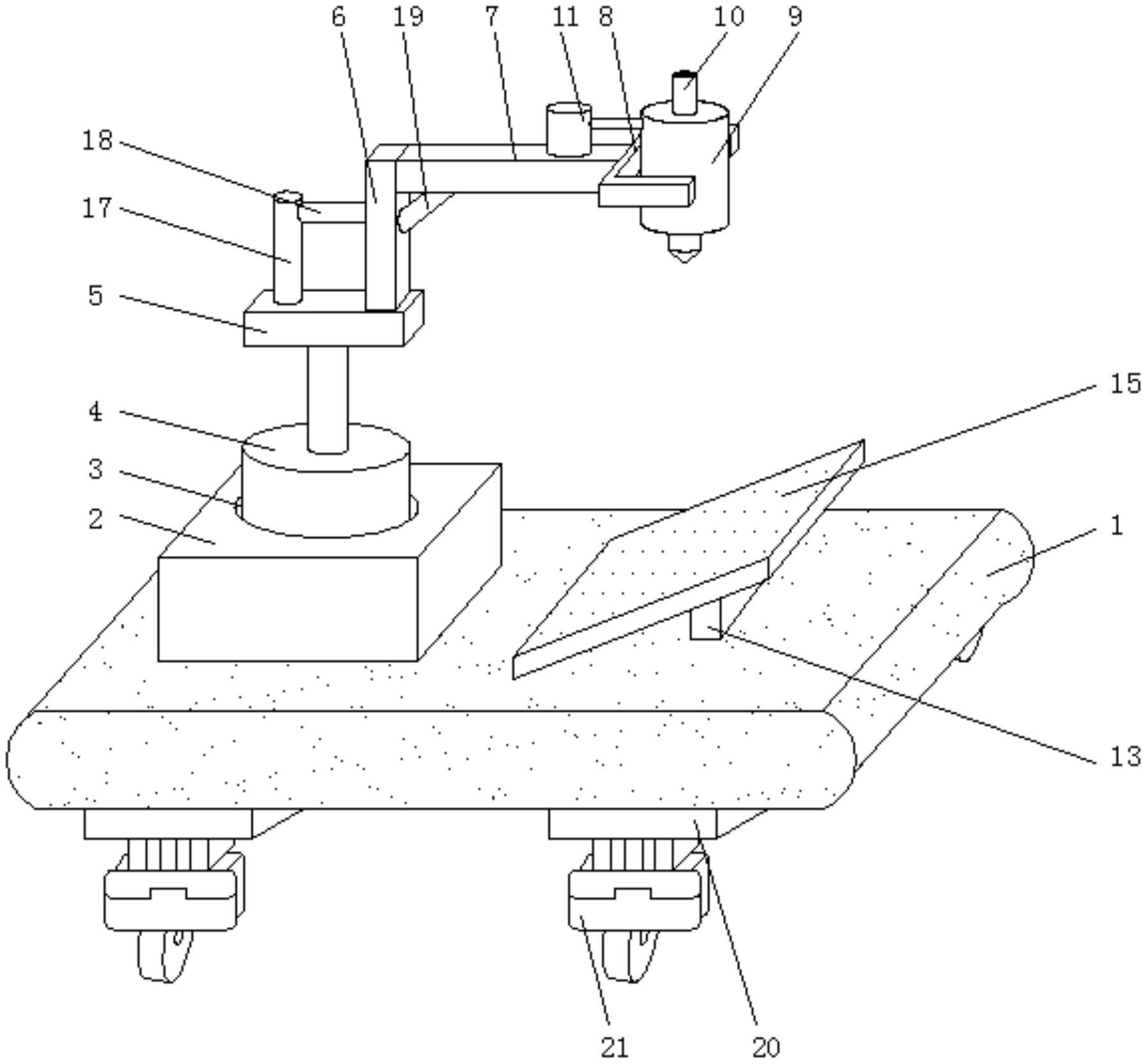
本实用新型公开了一种通过对水滴角度测量的水滴角测量仪,本实用新型涉及水滴角测量仪技术领域,包括底板,所述底板的上表面固定连接有固定座,所述固定座的上表面开设有定位槽,所述定位槽的内部固定安装有电动推杆,所述电动推杆的输出端固定连接有支撑板,所述支撑板的上表面固定连接有固定板,所述固定板的右侧面固定连接有定位板,所述定位板的右侧面固定连接有定位架。该通过对水滴角度测量的水滴角测量仪,通过加压泵能够对滴水罐进行加压,方便工作人员对不同冲击力的水滴进行测量,通过定位块和限位槽的配合,方便工作人员调节测量感应板的角度,能够对水滴进行多角度测量,提高工作人员的测量效率,节省工作人员的时间。


