授权公布号:CN214097160U
—种快速测量材料雾度的雾度仪
有效
申请
2020-12-06
申请公布
1970-01-01
授权
2021-08-31
预估到期
2030-12-06
| 申请号 | CN202022907300.1 |
| 申请日 | 2020-12-06 |
| 授权公布号 | CN214097160U |
| 授权公告日 | 2021-08-31 |
| 分类号 | G01N21/59;G01N21/01 |
| 分类 | 测量;测试; |
| 申请人名称 | 深圳市速德瑞科技有限公司 |
| 申请人地址 | 广东省深圳市龙华新区大浪街道河背工业区河盛工业园1栋601 |
专利法律状态
2021-08-31
授权
状态信息
授权
摘要
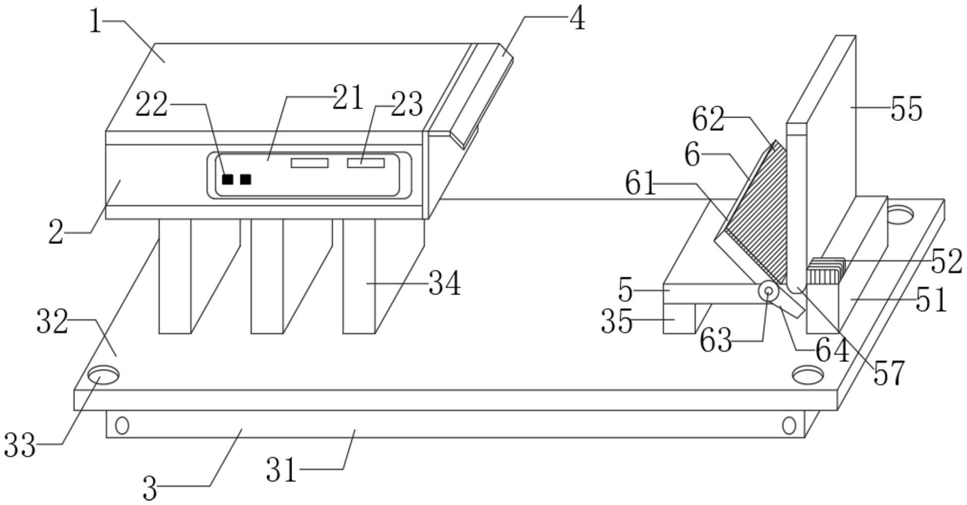
本实用新型公开了—种快速测量材料雾度的雾度仪,包括设备本体,设备本体的一侧设置有用来检测材质的控制显示结构,设备本体的下端连接有对设备固定的固定结构,控制显示结构的顶部的一侧设置有用来加热镜片,使其保持干燥的加热结构;本实用新型通过设置夹持板,通过电机驱动转轴a一端的齿轮,通过齿轮与抵触板内部一端的齿轮条相啮合,使其将齿轮条下端的缓冲头抵触在挡板上端,随后挡板一端的夹持板通过转轴b改变角度,从而对物体的下端进行固定,大大增加了检测的稳定性,通过设置加热丝,通过设备一端设置有加热丝,在潮湿环境下,镜片也不会起雾,使其检测准确度大大提升。


