授权公布号:CN214097104U
一种反复式摩擦测试仪
有效
申请
2020-12-06
申请公布
1970-01-01
授权
2021-08-31
预估到期
2030-12-06
| 申请号 | CN202022907315.8 |
| 申请日 | 2020-12-06 |
| 授权公布号 | CN214097104U |
| 授权公告日 | 2021-08-31 |
| 分类号 | G01N19/02 |
| 分类 | 测量;测试; |
| 申请人名称 | 深圳市速德瑞科技有限公司 |
| 申请人地址 | 广东省深圳市龙华新区大浪街道河背工业区河盛工业园1栋601 |
专利法律状态
2021-08-31
授权
状态信息
授权
摘要
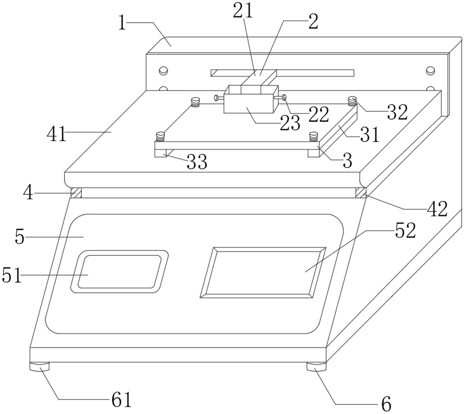
本实用新型公开了一种反复式摩擦测试仪,包括设备本体,设备本体的上端设置有用来夹持配重块的夹持结构,设备本体的顶部的一侧连接有对待测物体固定的实验结构,实验结构的下端设置有用来调节平衡的水平结构a,设备本体的中部设置有用来进行控制和显示数据的显示控制结构;本实用新型通过设置载物盒,通过载物盒两侧设置有固定螺栓,对其内部的配重块进行固定,同时还可以根据配重块的形状大小随时调节载物盒的大小,适用范围更广,通过设置水平柱a与水平柱b,采用水平柱a和水平柱b相结合的方式进行设备的平衡,增强了平衡能力,在产品中心偏离实验板中心时,能够克服受力不均衡的状况,使其测试结果更加准确。


