授权公布号:CN214097159U
一种分体式透光率仪
有效
申请
2020-12-06
申请公布
1970-01-01
授权
2021-08-31
预估到期
2030-12-06
| 申请号 | CN202022907279.5 |
| 申请日 | 2020-12-06 |
| 授权公布号 | CN214097159U |
| 授权公告日 | 2021-08-31 |
| 分类号 | G01N21/59;G01N21/01 |
| 分类 | 测量;测试; |
| 申请人名称 | 深圳市速德瑞科技有限公司 |
| 申请人地址 | 广东省深圳市龙华新区大浪街道河背工业区河盛工业园1栋601 |
专利法律状态
2021-08-31
授权
状态信息
授权
摘要
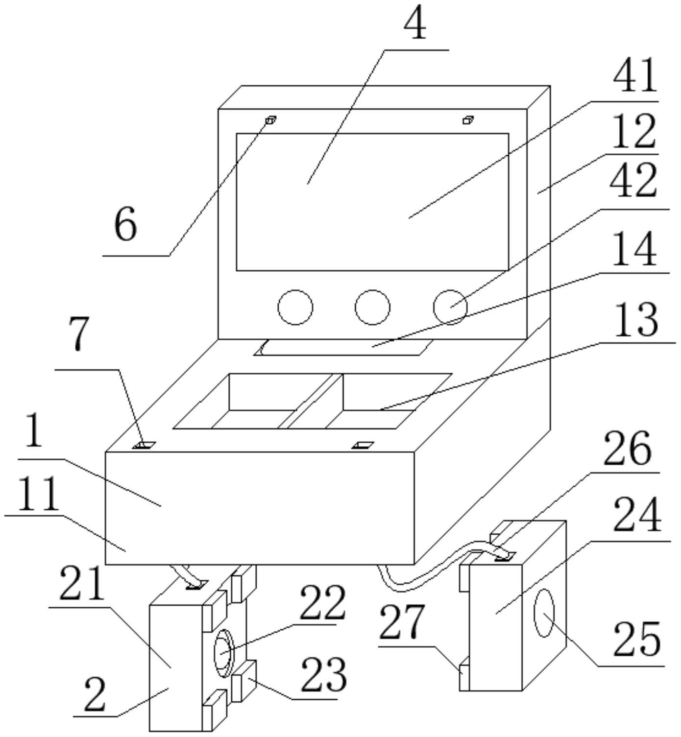
本实用新型公开了一种分体式透光率仪,包括仪器收纳装置,仪器收纳装置的内部设置有起到检测透光率效果的透光率检测装置,仪器收纳装置的内部固定连接有起到显示及控制仪器效果的控制显示装置,仪器收纳装置的内部设置有起到卡接效果的卡槽,卡槽的内部卡接有起到固定效果的卡扣,仪器收纳装置的底端滑动连接有起到对仪器固定效果的夹持装置,仪器收纳装置的底端固定连接有起到对收线效果的收线装置;本实用新型中,仪器采用分体设计,使其在检测时对于某些物品可以做到更好的检测,提高仪器的适用性,并且设置了仪器收纳装置与收线装置,使其方便收纳,起到对透光率检测装置的保护效果,提高了设备的使用寿命。


