授权公布号:CN216284607U
一种通过铅笔来测试材料表面硬度的铅笔硬度计
有效
申请
2021-10-19
申请公布
1970-01-01
授权
2022-04-12
预估到期
2031-10-19
| 申请号 | CN202122517020.4 |
| 申请日 | 2021-10-19 |
| 授权公布号 | CN216284607U |
| 授权公告日 | 2022-04-12 |
| 分类号 | G01N3/02;G01N3/46 |
| 分类 | 测量;测试; |
| 申请人名称 | 深圳市速德瑞科技有限公司 |
| 申请人地址 | 广东省深圳市龙华新区大浪街道河背工业区河盛工业园1栋601 |
专利法律状态
2022-04-12
授权
状态信息
授权
摘要
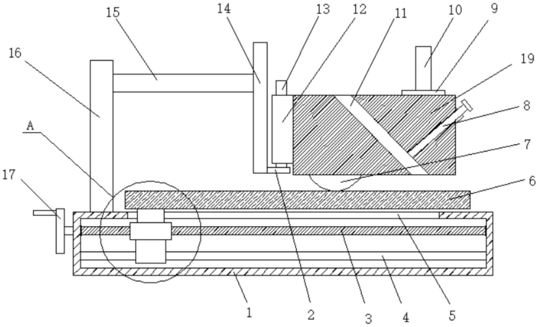
本实用新型公开了—种通过铅笔来测试材料表面硬度的铅笔硬度计,包括工作台、测试面板和车身,所述工作台的内部设置有空腔,所述工作台内部的两侧之间活动安装有螺纹杆,所述螺纹杆的一端延伸至所述工作台的左侧,所述工作台的顶部开设有限位槽,所述螺纹杆的外表面螺纹套接有滑块,所述滑块的顶部固定安装有连接块,所述测试面板滑动安装在所述工作台的上表面,所述连接块与所述测试面板固定连接,所述工作台的顶部固定安装有支撑杆,所述支撑杆的右侧固定安装有连接杆,所述连接杆的右侧固定安装有第三固定板,所述第三固定板的右侧固定安装有第一固定板。本实用新型由于不需要人工手动进行推动,进而提高了测试精度。


