授权公布号:CN214427278U
一种快速连续测量材料光穿透率的透过率仪
有效
申请
2020-12-06
申请公布
1970-01-01
授权
2021-10-19
预估到期
2030-12-06
| 申请号 | CN202022907291.6 |
| 申请日 | 2020-12-06 |
| 授权公布号 | CN214427278U |
| 授权公告日 | 2021-10-19 |
| 分类号 | G01N21/59;G01N21/01;G01N21/15 |
| 分类 | 测量;测试; |
| 申请人名称 | 深圳市速德瑞科技有限公司 |
| 申请人地址 | 广东省深圳市龙华新区大浪街道河背工业区河盛工业园1栋601 |
专利法律状态
2021-10-19
授权
状态信息
授权
摘要
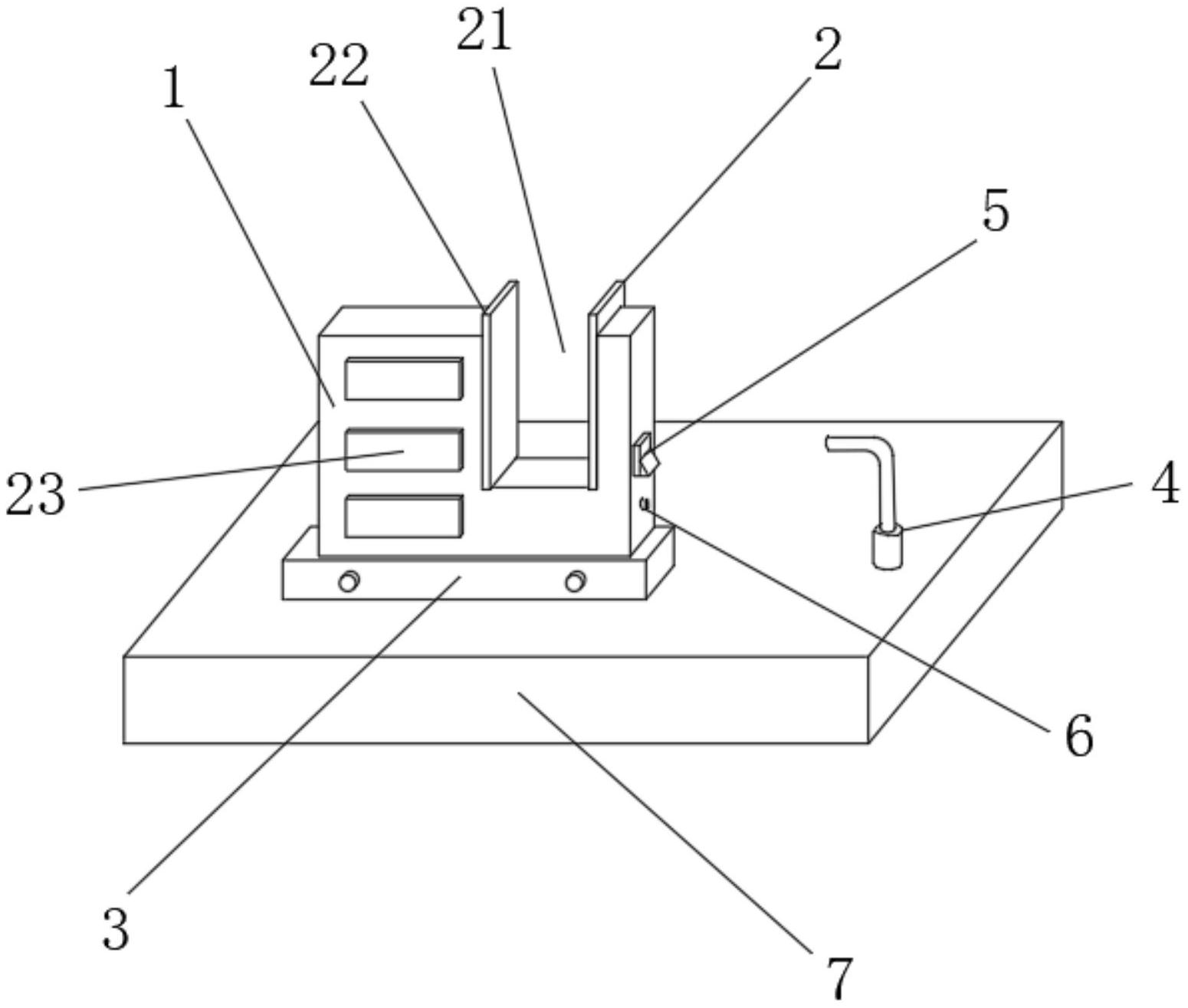
本实用新型涉及光穿透率透过仪领域,具体为一种快速连续测量材料光穿透率的透过率仪,包括透过率测量仪,透过率测量仪的中部设置有可以测量结构,测量结构的下方设置有可以固定透过率测量仪的固定结构,固定结构的下方设置有底板,固定结构的一侧设置有能够清理灰尘的清理结构,本实用新型通过螺纹插销的紧固和松弛来固定透过率测量仪,透过率测量仪会插入凹槽中,然后在使用螺纹插销进行固定,有了螺纹帽和螺纹插销,透过率测量仪在检测时就不会随意晃动,使用时更加的方便,通过电机的转动可以带动风扇进行旋转,从而产生强劲的风力,可以对透过率测量仪进行清理,清除其表面的灰尘,吹出的风还可以对机器进行散热,使其高效持续地使用。


