授权公布号:CN214622265U
一种具有声光设备的显微镜
有效
申请
2021-02-04
申请公布
1970-01-01
授权
2021-11-05
预估到期
2031-02-04
| 申请号 | CN202120312056.6 |
| 申请日 | 2021-02-04 |
| 授权公布号 | CN214622265U |
| 授权公告日 | 2021-11-05 |
| 分类号 | G01N21/01;G01N21/64 |
| 分类 | 测量;测试; |
| 申请人名称 | 苏州南光电子科技有限公司 |
| 申请人地址 | 江苏省苏州市吴中区长蠡路99号吴中科技创业园4楼407室 |
专利法律状态
2021-11-05
授权
状态信息
授权
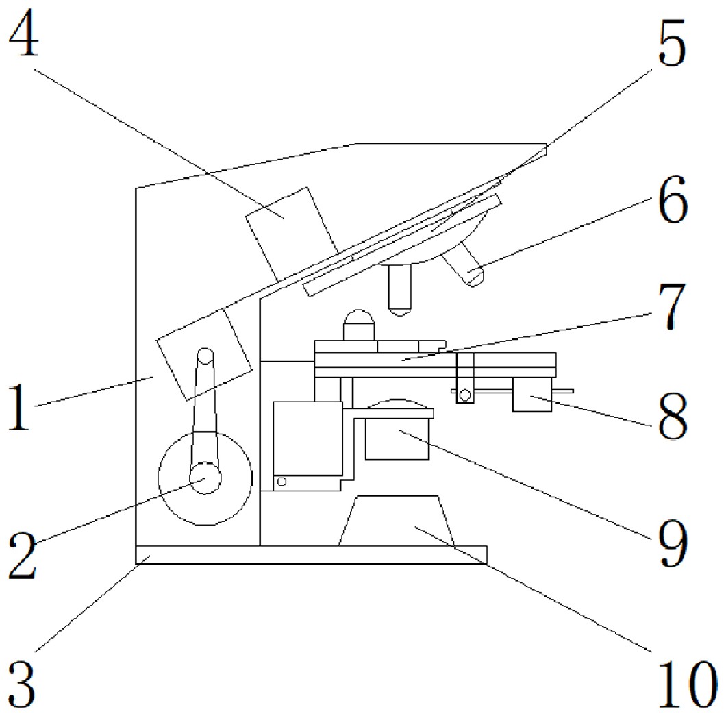
摘要
本实用新型公开了一种具有声光设备的显微镜,包括主体,所述主体的前端设置有声光感应机构,所述主体的下端设置有底座,所述底座的上端外表面设置有光强调制器,所述光强调制器的上方设置有验电器,所述验电器的上方设置有放置台,所述放置台的下端设置有荧光探测器,所述放置台的上方设置有扫描器。本实用新型所述的一种具有声光设备的显微镜,在声光感应机构的作用下,可以使显微镜具有感应声音与光速的功能,可以随时监测显微镜各个部件,在验电器的作用下,可以随时检测显微镜内部的电流大小,将其控制在安全范围内,根据两箔片张成角度的大小可估计物体带电量的大小,非常实用高效,带来更好的使用前景。


