授权公布号:CN220415172U
一种高精度车载防眩光AG玻璃
有效
申请
2023-03-07
申请公布
1970-01-01
授权
2024-01-30
预估到期
2033-03-07
| 申请号 | CN202320404763.7 |
| 申请日 | 2023-03-07 |
| 授权公布号 | CN220415172U |
| 授权公告日 | 2024-01-30 |
| 分类号 | E06B3/54;E06B7/12;B60J1/00 |
| 分类 | 一般门、窗、百叶窗或卷辊遮帘;梯子; |
| 申请人名称 | 翔实光电科技(昆山)有限公司 |
| 申请人地址 | 江苏省苏州市昆山市千灯镇石浦汶浦东路61号 |
专利法律状态
2024-01-30
授权
状态信息
授权
摘要
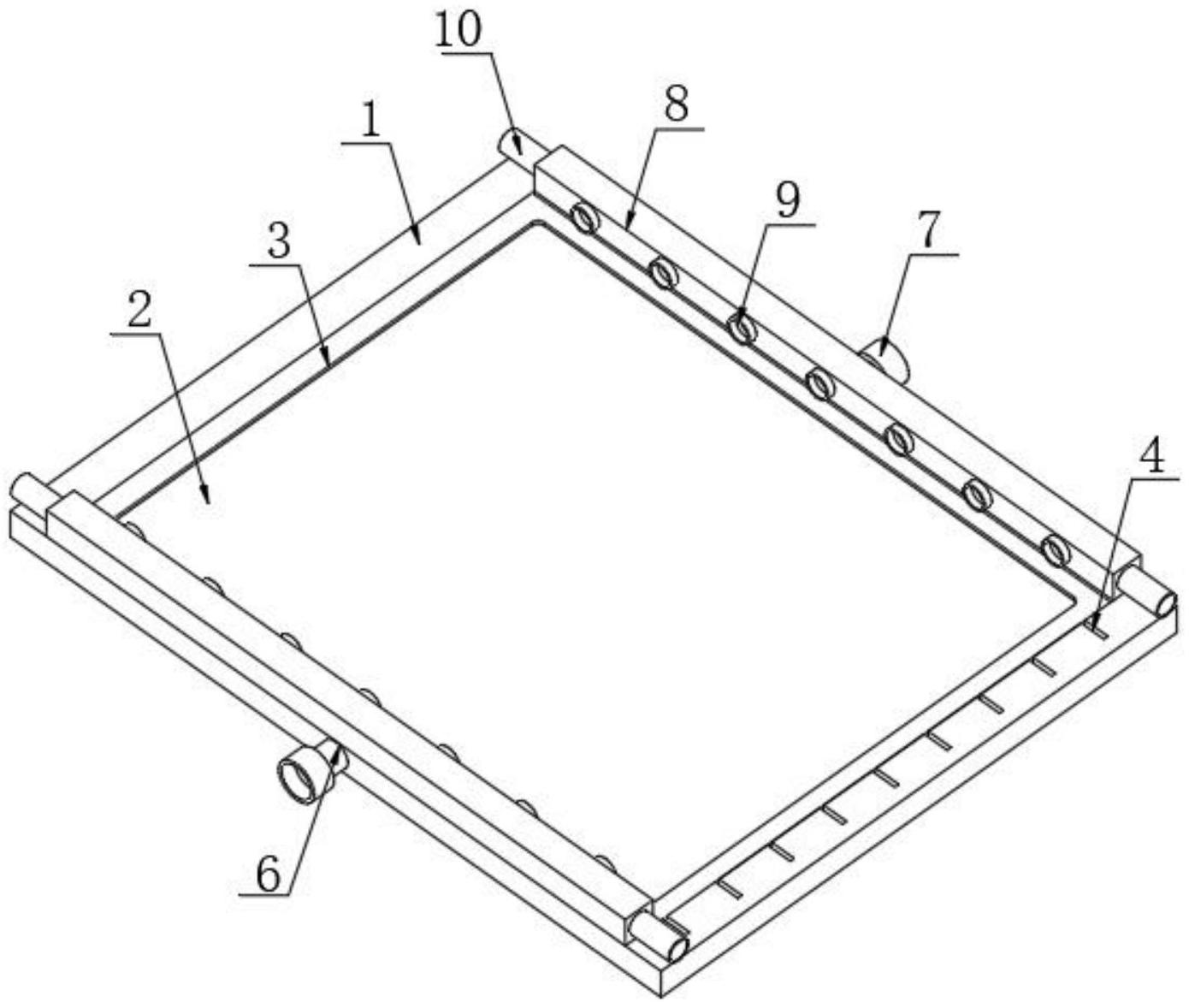
本实用新型公开了一种高精度车载防眩光AG玻璃,包括防护框,所述防护框的中间设有玻璃主体,且防护框与玻璃主体之间为固定连接,所述防护框的内侧设有密封圈,所述防护框的一侧设有刻度条,所述防护框的背面设有贴胶,且贴胶与防护框之间为粘接,所述防护框的两端均设有螺纹柱,且螺纹柱与防护框之间为螺纹连接,所述螺纹柱的末端设有连接口,所述防护框的正面固定连接有热气槽,所述热气槽的一侧设有排气孔,所述热气槽的两端均设有连接管。本实用新型通过连接管,能够将热气槽与外界暖气设备进行连接,配合排气孔的使用,能够对玻璃主体吹热风,从而防止玻璃主体的表面因温差产生雾气,提升本装置的实用性。


