授权公布号:CN208104208U
一种具有电助熔功能的浮法玻璃熔窑
有效
申请
2018-04-12
申请公布
1970-01-01
授权
2018-11-16
预估到期
2028-04-12
| 申请号 | CN201820512006.0 |
| 申请日 | 2018-04-12 |
| 授权公布号 | CN208104208U |
| 授权公告日 | 2018-11-16 |
| 分类号 | C03B5/03 |
| 分类 | 玻璃;矿棉或渣棉; |
| 申请人名称 | 中国洛阳浮法玻璃集团有限责任公司 |
| 申请人地址 | 河南省洛阳市西工区唐宫中路9号 |
专利法律状态
2018-11-16
授权
状态信息
授权
摘要
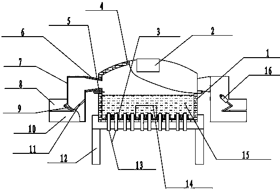
一种具有电助熔功能的浮法玻璃熔窑,包括窑体、加热小炉、烟道和电极;加热小炉对称均匀设置在窑体的左右两侧,烟道设置在加热小炉的外侧,电极设置在窑体的底部;所述的窑体下部为支撑架,支撑架上前部熔池,后部设置有连接流道;所述的熔池下部为熔化玻璃的箱体,熔池底部设置有电极;本实用新型提出的技术方案,达到了良好的效果:具有电助熔功能的浮法玻璃熔窑通过在玻璃熔化窑的底部设置电极对熔化窑内玻璃配合料下部进行辅助加热,缩短了玻璃配合料的熔化时间,改善玻璃熔液的对流状态,提高玻璃配合料熔化指数,有利于玻璃熔液中气泡的排出和均匀性的提高,从而提高玻璃产质量,同时降低了有害烟尘的排放,给企业创造了效益。


