授权公布号:CN214735365U
一种钢化玻璃加工用一体化装置
有效
申请
2020-12-09
申请公布
1970-01-01
授权
2021-11-16
预估到期
2030-12-09
| 申请号 | CN202022921935.7 |
| 申请日 | 2020-12-09 |
| 授权公布号 | CN214735365U |
| 授权公告日 | 2021-11-16 |
| 分类号 | C03B33/00;B28D1/14;B28D7/02;B02C4/08;B08B11/00 |
| 分类 | 玻璃;矿棉或渣棉; |
| 申请人名称 | 江苏金桥玻璃科技有限公司 |
| 申请人地址 | 江苏省徐州市经济技术开发区杨山路延长段16# |
专利法律状态
2021-11-16
授权
状态信息
授权
摘要
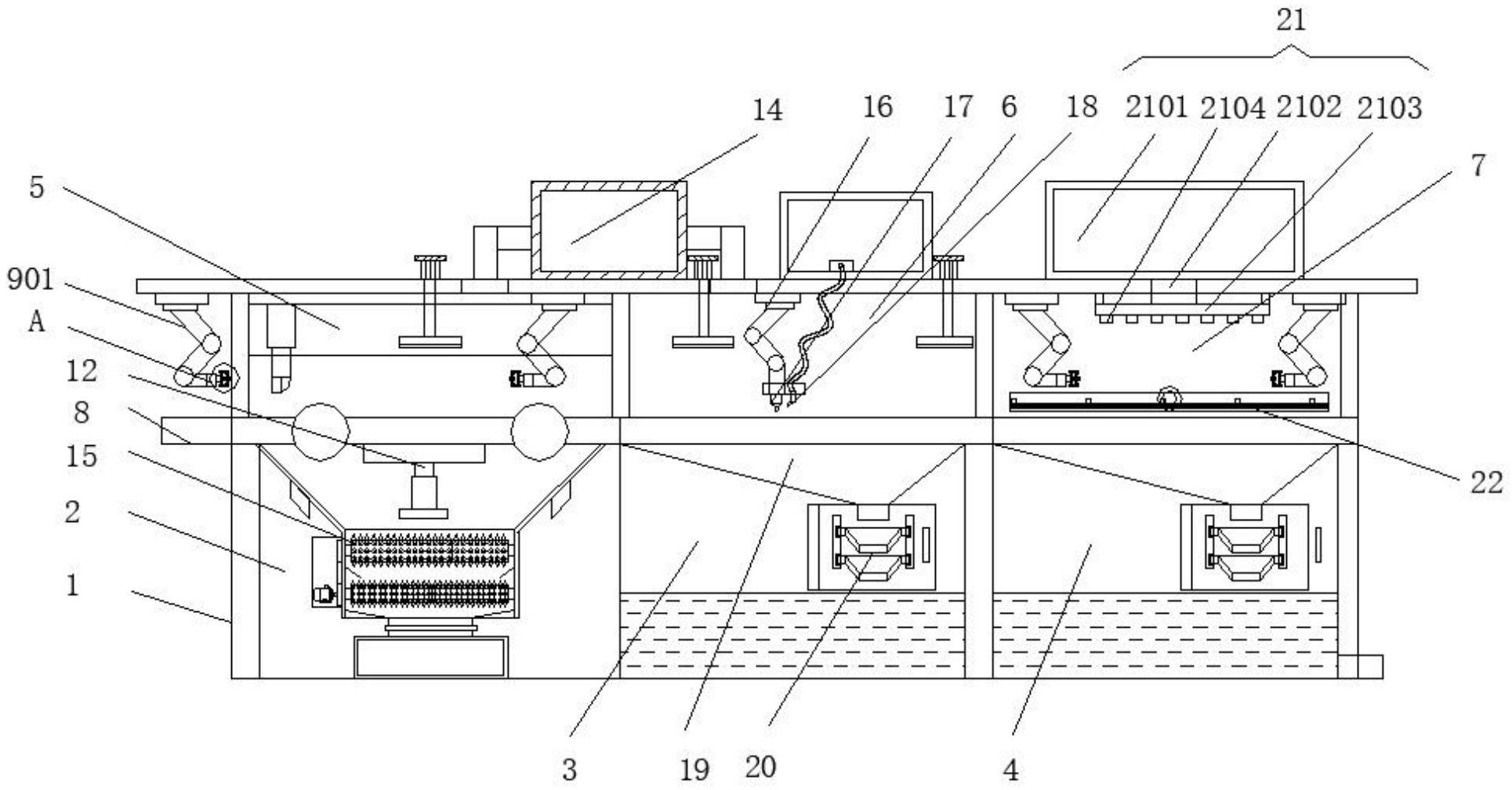
本实用新型公开了一种钢化玻璃加工用一体化装置,包括底座、辅助固定组件和第二机械手,所述底座内固定有储存箱、第一水箱和第二水箱,所述底座上侧固定有切割箱、钻孔箱和清洗箱,所述切割箱、钻孔箱和清洗箱内均贯穿有传动带,所述切割箱左侧上端外壁及切割箱和清洗箱内部上侧均固定有转动夹持组件,所述储存箱内部固定有废料粉碎组件,所述第一水箱和第二水箱内壁上均固定有导水槽,所述清洗箱上侧固定有第一清洗组件,所述底座前侧固定有控制箱。该钢化玻璃加工用一体化装置,本实用新型可在加工时对钢化玻璃废料进行粉碎、切割后可直接进行翻转、在钻孔清洗时可对水中杂质过滤、最后可对加工后的钢化玻璃进行清洁的优点。


