授权公布号:CN214894979U
一种便于使用的钢化玻璃均质炉热风循环装置
有效
申请
2021-05-31
申请公布
1970-01-01
授权
2021-11-26
预估到期
2031-05-31
| 申请号 | CN202121193865.6 |
| 申请日 | 2021-05-31 |
| 授权公布号 | CN214894979U |
| 授权公告日 | 2021-11-26 |
| 分类号 | G01N25/54;C03B32/00 |
| 分类 | 测量;测试; |
| 申请人名称 | 晋江市新南益玻璃制品有限公司 |
| 申请人地址 | 福建省泉州市晋江市晋江市经济开发区(五里园)佳源路7号 |
专利法律状态
2021-11-26
授权
状态信息
授权
摘要
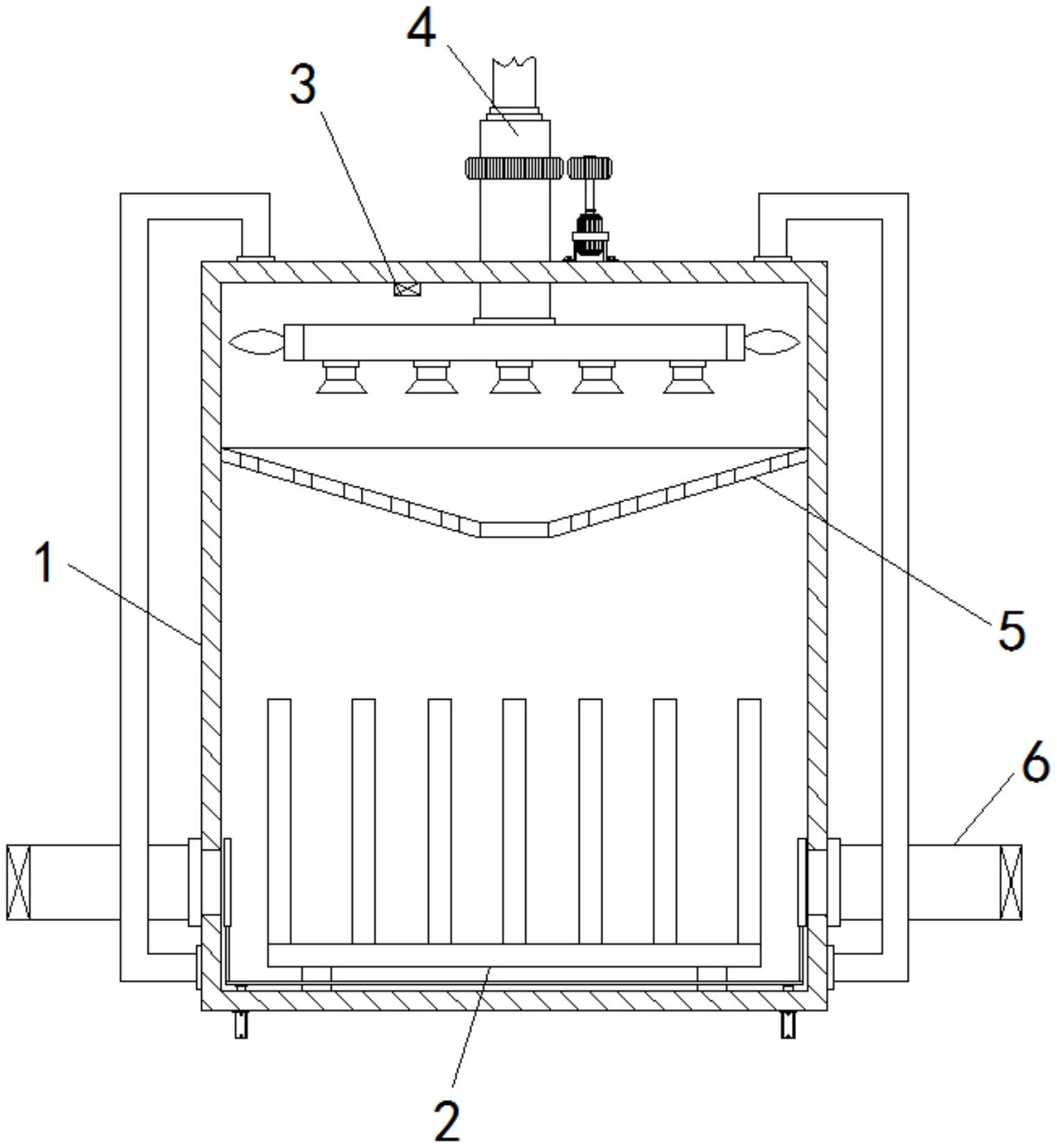
本实用新型涉及一种便于使用的钢化玻璃均质炉热风循环装置,包括炉体,所述炉体内腔的底部固定连接有置物架,所述炉体内腔的顶部固定连接有温度传感器,所述炉体的顶部转动连接有热风循环组件,所述炉体的内部固定连接有导风罩,所述炉体的底部固定连接有温度调节组件;所述热风循环组件包括与炉体顶部转动连接的旋转管,所述旋转管内侧的顶部固定连接有旋转接头。该便于使用的钢化玻璃均质炉热风循环装置,通过在炉体上设置热风循环组件,在热风进入到炉体内时,可进行旋转,使得热风均匀接触到钢化玻璃,同时热风从炉体的上部进入到下部,同时在热风循环组件的动力作用下,进行热风循环,循环效果与效率较好,使用方便。


