授权公布号:CN213725525U
一种烟气颗粒筛分装置
有效
申请
2020-08-29
申请公布
1970-01-01
授权
2021-07-20
预估到期
2030-08-29
| 申请号 | CN202021844761.2 |
| 申请日 | 2020-08-29 |
| 授权公布号 | CN213725525U |
| 授权公告日 | 2021-07-20 |
| 分类号 | B01D49/00 |
| 分类 | 一般的物理或化学的方法或装置; |
| 申请人名称 | 深圳市宏森环保科技有限公司 |
| 申请人地址 | 广东省深圳市龙岗区坂田街道岗头社区清湖工业区宝能科技园(南区)一期B区B2栋601-A、601-B |
专利法律状态
2021-07-20
授权
状态信息
授权
摘要
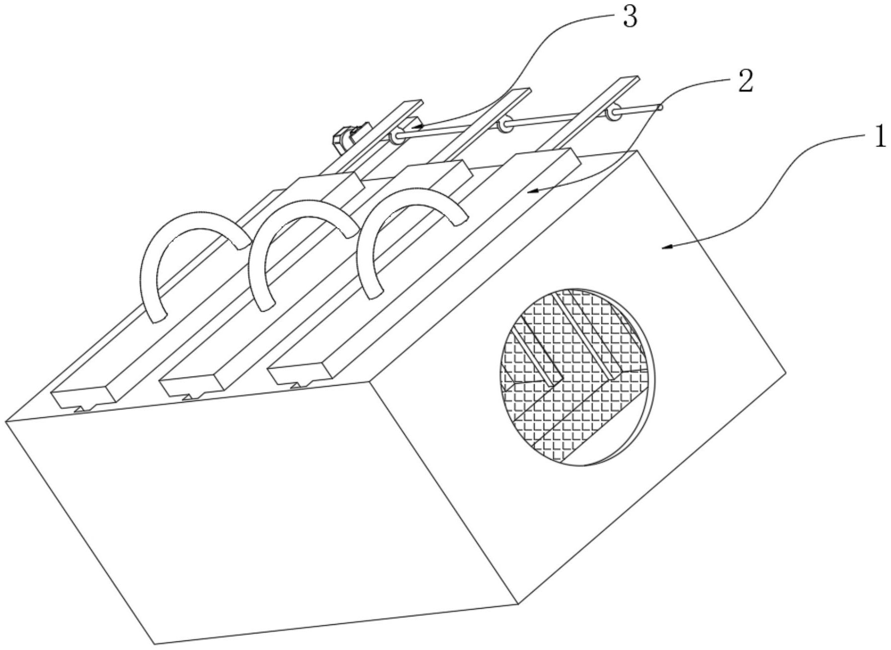
本实用新型涉及烟气颗粒筛分装置技术领域,具体为一种烟气颗粒筛分装置,包括筛分箱,筛分箱的两端对称开设有通孔,该烟气颗粒筛分装置通过设置的第二矩形框架能够将第一矩形框架围起来,使第一矩形框架内能够放置吸附材质,烟气颗粒经过吸附材质时变能够对烟气颗粒中相对应的有害物质进行吸附,再通过凸轮转动时固定板能够上下运动,使第一矩形框架内的吸附材质震荡,使吸附材质能够更好的对烟气颗粒中的有害物质进行吸附,从而达到烟气颗粒中的有害物质能够很好的去除,解决了烟气颗粒中的有害物去除的设备并不具备很好的效果的问题。


