授权公布号:CN207672713U
一种塑料检查井
有效
申请
2017-10-24
申请公布
1970-01-01
授权
2018-07-31
预估到期
2027-10-24
| 申请号 | CN201721371538.9 |
| 申请日 | 2017-10-24 |
| 授权公布号 | CN207672713U |
| 授权公告日 | 2018-07-31 |
| 分类号 | E03F5/02 |
| 分类 | 给水;排水; |
| 申请人名称 | 广州龙康机电设备有限公司 |
| 申请人地址 | 广东省广州市番禺区大石街猛涌路段637号自编1号 |
专利法律状态
2018-07-31
授权
状态信息
授权
摘要
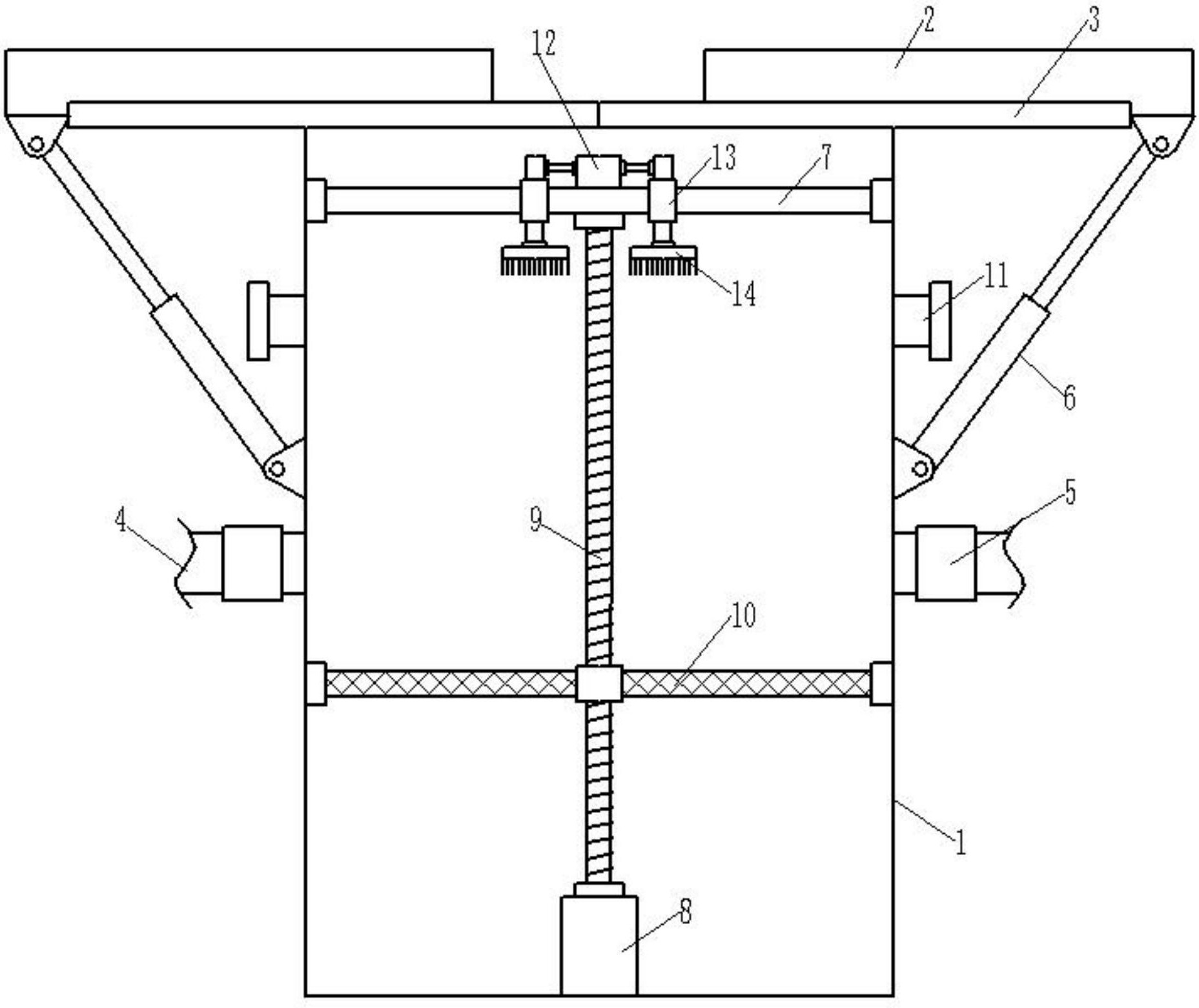
本实用新型公开了一种塑料检查井,包括检查井本体,检查井本体底部固定连接有驱动电机,且检查井本体内设置有旋转轴,检查井本体内顶部固定连接有加强筋,检查井本体内设置有过滤网板,加强筋上固定连接有电动伸缩装置,加强筋上滑动连接有滑动块,且滑动块底部固定连接有毛刷,且电动伸缩装置两端与滑动块连接,检查井本体顶部设置有活动井盖,检查井本体侧壁上对称铰接有调节气缸,且调节气缸末端的活塞杆与活动井盖末端铰接。该检查井便于将垃圾排出,给人们的清理垃圾工作提供了便利,且活动井盖通过调节气缸的作用左右移动,便于开启或关闭井口,提高了检查井的使用安全性能。


