授权公布号:CN213225659U
一种玻璃加工用毛料抛光装置
有效
申请
2020-09-25
申请公布
1970-01-01
授权
2021-05-18
预估到期
2030-09-25
| 申请号 | CN202022127037.4 |
| 申请日 | 2020-09-25 |
| 授权公布号 | CN213225659U |
| 授权公告日 | 2021-05-18 |
| 分类号 | B24B29/02;B24B41/04;B24B41/06;B24B57/02;B24B47/20;B24B47/22 |
| 分类 | 磨削;抛光; |
| 申请人名称 | 佛山市驰通玻璃科技有限公司 |
| 申请人地址 | 广东省佛山市顺德区陈村镇石洲村委会岗北工业区建业四路3号之一 |
专利法律状态
2021-05-18
授权
状态信息
授权
摘要
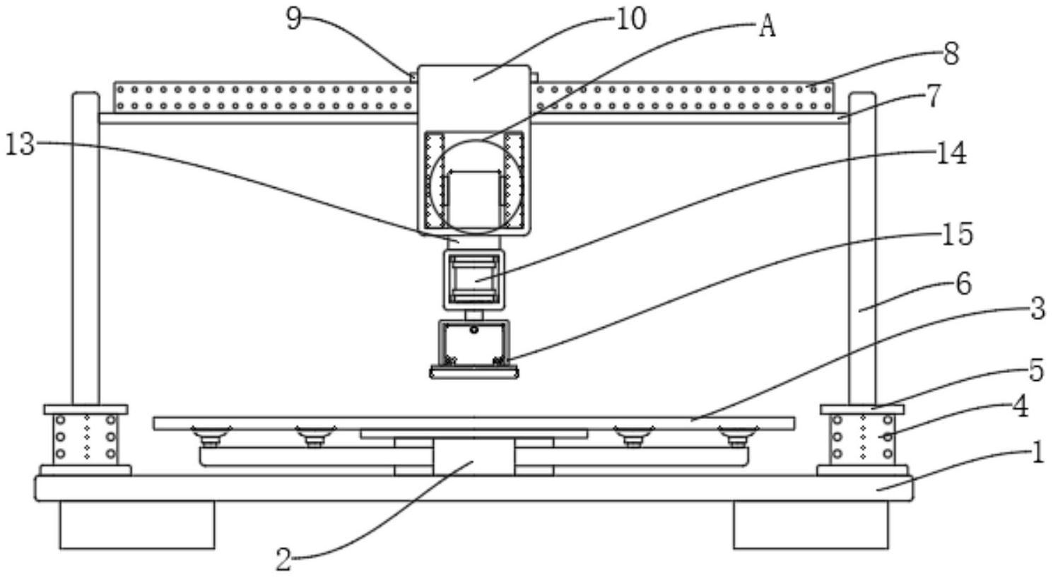
本实用新型公开了一种玻璃加工用毛料抛光装置,涉及玻璃加工技术领域,为解决现有的抛光装置自动化程度较低,工作人员劳动强度大,加工效率低,且缺少对玻璃的固定机构,玻璃易产生晃动从而降低抛光质量的问题。所述抛光架的下端安装有抛光板,所述抛光板的下端设置有抛光毛毡,所述抛光架的内侧安装有抛光液箱,所述抛光板与抛光液箱之间设置有进液管,且进液管设置有两个,两个所述进液管分别位于抛光液箱的两侧,所述抛光板的上端设置有储液孔,所述抛光毛毡的内部设置有储液海绵,所述抛光架的上端设置有连接轴,所述抛光架的上方设置有抛光电机,且抛光电机与连接轴通过联轴器连接。


