授权公布号:CN213865942U
一种中空玻璃加工装置
有效
申请
2020-09-30
申请公布
1970-01-01
授权
2021-08-03
预估到期
2030-09-30
| 申请号 | CN202022191356.1 |
| 申请日 | 2020-09-30 |
| 授权公布号 | CN213865942U |
| 授权公告日 | 2021-08-03 |
| 分类号 | C03B33/03;C03B33/037 |
| 分类 | 玻璃;矿棉或渣棉; |
| 申请人名称 | 佛山市驰通玻璃科技有限公司 |
| 申请人地址 | 广东省佛山市顺德区陈村镇石洲村委会岗北工业区建业四路3号之一 |
专利法律状态
2021-08-03
授权
状态信息
授权
摘要
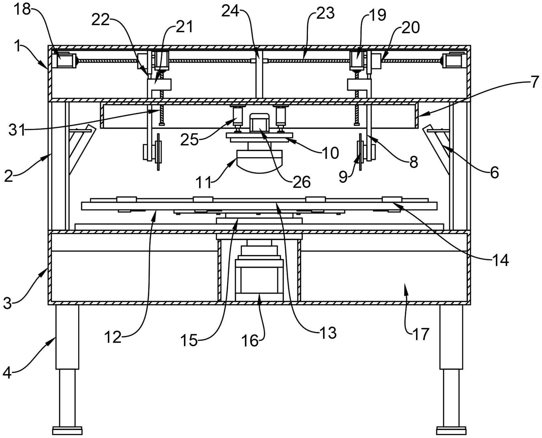
本实用新型公开了一种中空玻璃加工装置,涉及玻璃加工领域,为解决现有技术中的现有的加工设备不方便对玻璃板材进行固定和移动,使用不便,影响工作效率的问题。所述上固定箱的下方安装有连接板,所述连接板的下方安装有抛光球,所述抛光球的两侧均安装有切割刀具,所述切割刀具的下方安装有装置壳体,所述装置壳体的上方安装有工作台,所述工作台的上端面设置有玻璃板,所述玻璃板的外部安装有夹板,且所述工作台的下端安装有转轴,所述装置壳体的下方安装有支腿,所述上固定箱的内部安装有移动块,所述移动块的下方安装有支撑杆,所述支撑杆与移动块设置为一体结构,且所述支撑杆与切割刀具固定连接,所述移动块的上端安装有抽板。


