授权公布号:CN213232001U
一种玻璃加工切割装置
有效
申请
2020-09-25
申请公布
1970-01-01
授权
2021-05-18
预估到期
2030-09-25
| 申请号 | CN202022130347.1 |
| 申请日 | 2020-09-25 |
| 授权公布号 | CN213232001U |
| 授权公告日 | 2021-05-18 |
| 分类号 | C03B33/023;C03B33/027;C03B33/033 |
| 分类 | 玻璃;矿棉或渣棉; |
| 申请人名称 | 佛山市驰通玻璃科技有限公司 |
| 申请人地址 | 广东省佛山市顺德区陈村镇石洲村委会岗北工业区建业四路3号之一 |
专利法律状态
2021-05-18
授权
状态信息
授权
摘要
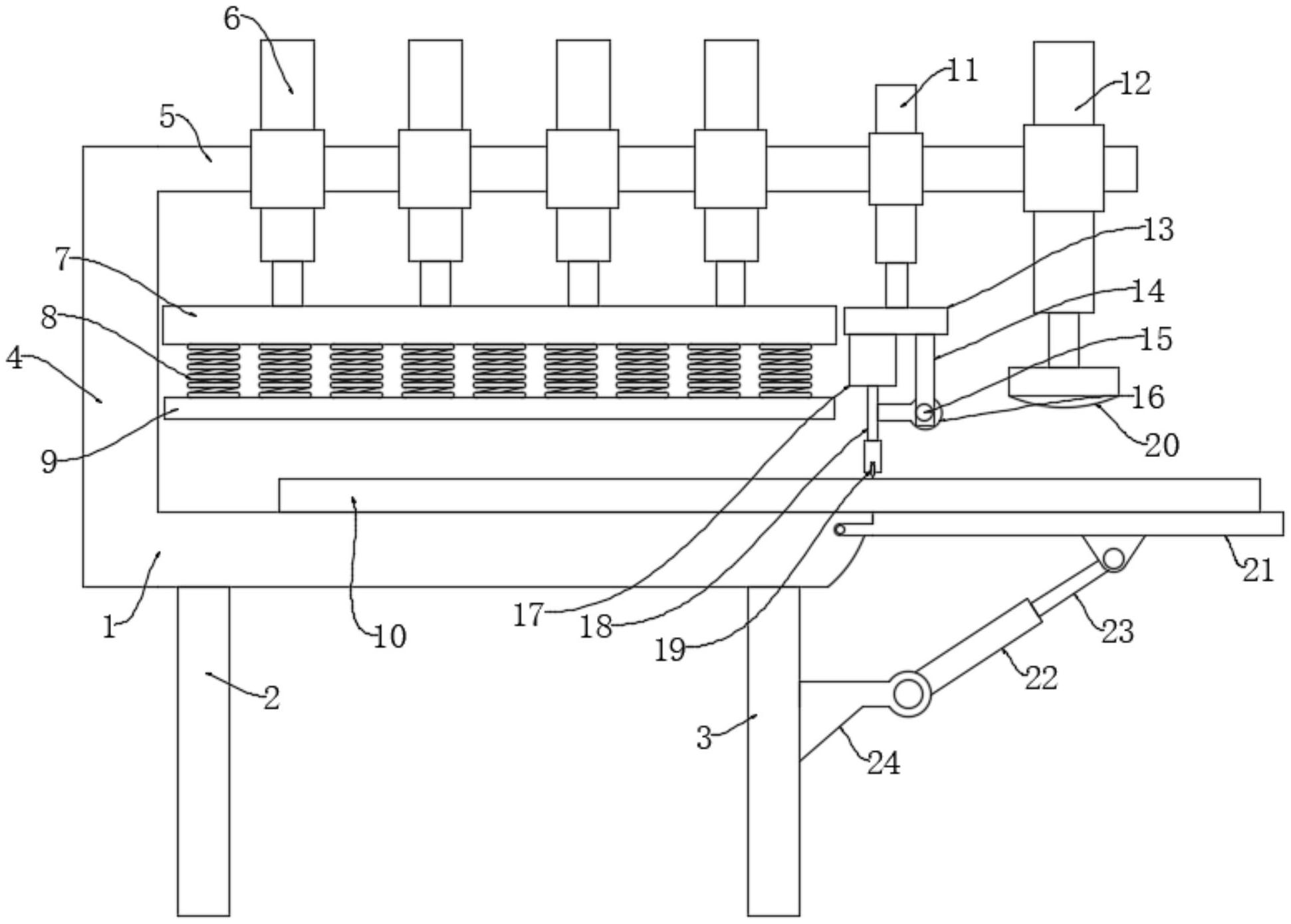
本实用新型公开了一种玻璃加工切割装置,涉及玻璃加工技术领域,为解决现有技术中的普通切割装置在切割玻璃时容易压损玻璃的问题。所述抵固板的下方安装有第一弹簧,且第一弹簧与抵固板固定连接,所述第一弹簧的下方安装有压板,且压板与第一弹簧固定连接,所述工作台的上方设置有连接板,且连接板与工作台设置为一体结构,所述连接板的一侧设置有固定板,且固定板与连接板设置为一体结构,所述固定板的上方安装有第一气缸,且第一气缸与固定板固定连接,所述第一气缸与抵固板固定连接,所述工作台的一侧安装有转板,且转板与工作台转动连接,所述工作台的下方分别安装有第一支板和第二支板,且第一支板和第二支板均与工作台固定连接。


