授权公布号:CN216537328U
一种高效栅渣脱水装置
有效
申请
2021-12-02
申请公布
1970-01-01
授权
2022-05-17
预估到期
2031-12-02
| 申请号 | CN202123003217.2 |
| 申请日 | 2021-12-02 |
| 授权公布号 | CN216537328U |
| 授权公告日 | 2022-05-17 |
| 分类号 | B01D36/02;B08B9/043 |
| 分类 | 一般的物理或化学的方法或装置; |
| 申请人名称 | 中节能兆盛环保有限公司 |
| 申请人地址 | 江苏省无锡市宜兴市周铁镇兴旺路2号 |
专利法律状态
2022-05-17
授权
状态信息
授权
摘要
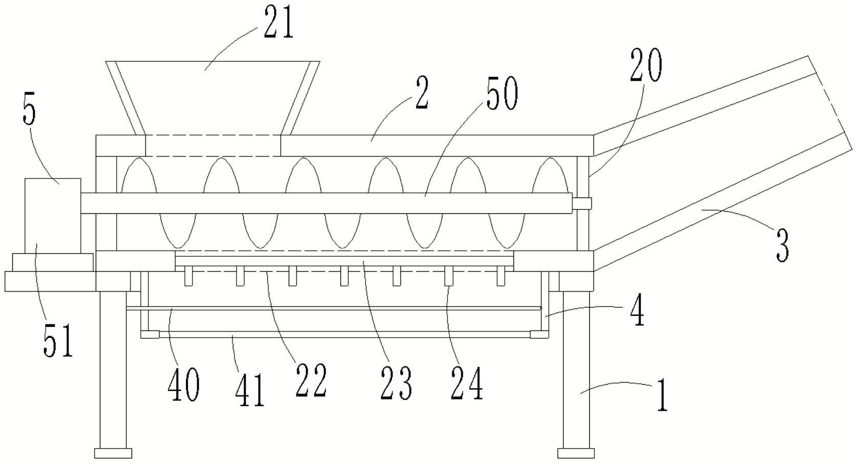
本实用新型公开了一种高效栅渣脱水装置,包括机架、水平输送管、压榨管、集水箱和螺旋搅拌组件,水平输送管设在机架上,水平输送管内设有限位架,上端设有进料斗,下端设有通孔,通孔内设有过滤网板;压榨管倾斜向上设在水平输送管的开口端;集水箱设在水平输送管下端,且与通孔导通,集水箱内设有冲洗管,冲洗管上设有冲洗喷头,集水箱下端设有活动滤网,侧壁上设有卸料门;螺旋搅拌组件包括搅拌螺旋和动力电机,搅拌螺旋设在水平输送管内部,且与限位架卡接,动力电机为搅拌螺旋提供动力;本实用新型结构设计合理,栅渣脱水效率高,且运行效果稳定可靠,适宜大量推广。


