授权公布号:CN219619506U
一种气泡膜卷放料装置
有效
申请
2023-02-20
申请公布
1970-01-01
授权
2023-09-01
预估到期
2033-02-20
| 申请号 | CN202320276939.5 |
| 申请日 | 2023-02-20 |
| 授权公布号 | CN219619506U |
| 授权公告日 | 2023-09-01 |
| 分类号 | B65B41/12;B65H16/02 |
| 分类 | 输送;包装;贮存;搬运薄的或细丝状材料; |
| 申请人名称 | 广东联邦家私集团有限公司 |
| 申请人地址 | 广东省佛山市南海区狮山镇博爱中路40号联邦家私总部大楼9、10、11楼 |
专利法律状态
2023-09-01
授权
状态信息
授权
摘要
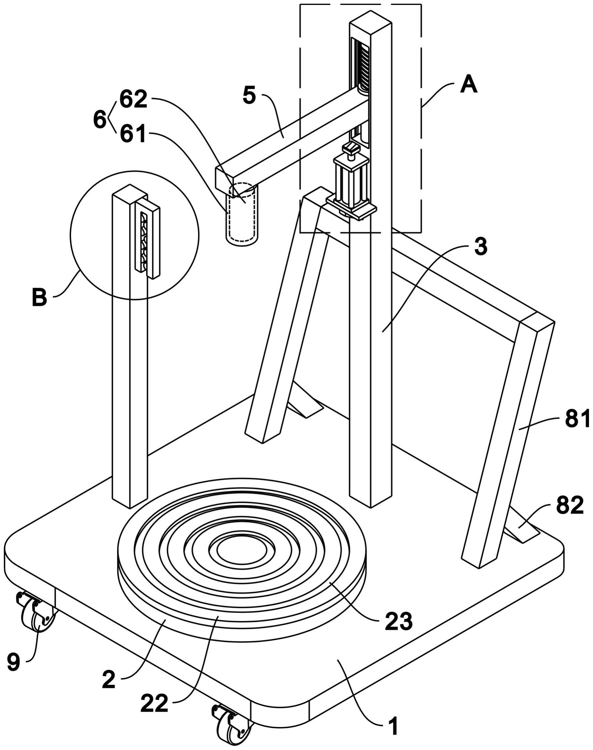
本实用新型涉及放料装置的技术领域,公开了一种气泡膜卷放料装置,包括底板、设置在底板上表面且可转动的转盘、设置在底板上表面的竖杆、设置在竖杆内部的压紧机构、与压紧机构连接的横杆、以及设置在横杆末端的压杆;所述转盘的上表面用于放置气泡膜卷,所述压杆用于插入气泡膜卷的中心,所述压紧机构用于使所述横杆向下压。通过设置用于使气泡膜卷被拉出的转盘,用于带动横杆和压杆向下压的压紧机构,用于从上方固定气泡膜卷的压杆,使得气泡膜卷能竖直地放置于转盘的上表面,并被工人以竖直的状态顺畅地被拉出,有利于减轻工人拉出气泡膜时所消耗的力。


