授权公布号:CN212174766U
滤布移动式板框压滤机
有效
申请
2020-04-10
申请公布
1970-01-01
授权
2020-12-18
预估到期
2030-04-10
| 申请号 | CN202020515847.4 |
| 申请日 | 2020-04-10 |
| 授权公布号 | CN212174766U |
| 授权公告日 | 2020-12-18 |
| 分类号 | C02F11/122 |
| 分类 | 水、废水、污水或污泥的处理; |
| 申请人名称 | 江苏菲力环保工程有限公司 |
| 申请人地址 | 江苏省无锡市宜兴环保科技工业园创新创业园 |
专利法律状态
2020-12-18
授权
状态信息
授权
摘要
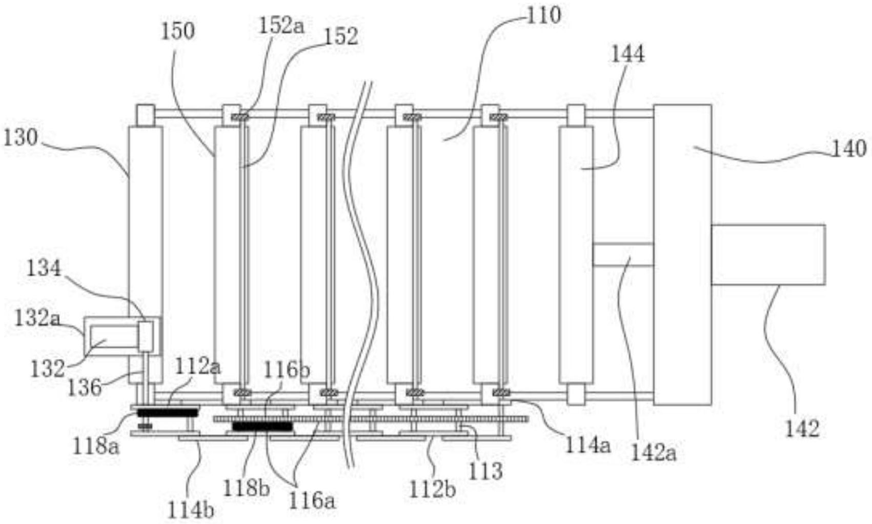
本实用新型公开了滤布移动式板框压滤机,包括框架和加圧板,所述框架分别由固定安装在前后两侧的前板和后板组合而成,所述框架的内侧前板和后板上皆设置有吊杆,所述吊杆上固定安装有滤板,所述后板的一侧固定安装有加圧板,所述框架的外侧表面皆通过轴承转动安装有连接棒,所述连接棒上分别固定套接有平齿轮和空转平齿轮。本滤布移动式板框压滤机,通过不采用加工精度要求高,而且加工长度有限制的六角棒、锥齿轮、轴等部件,制造过程中比较简易,且具有使用过程中更加稳定的优点,同时,通过连接组件及空转平齿轮或平齿轮的增加可增加滤板的数量,大大的提高了污泥单次的处理量,使污泥处理的整体速度更快效率更高。


