授权公布号:CN219571854U
落地灯
有效
申请
2023-02-22
申请公布
1970-01-01
授权
2023-08-22
预估到期
2033-02-22
| 申请号 | CN202320353999.2 |
| 申请日 | 2023-02-22 |
| 授权公布号 | CN219571854U |
| 授权公告日 | 2023-08-22 |
| 分类号 | F21V23/04;F21S6/00;F21V15/01;F21Y115/10N |
| 分类 | 照明; |
| 申请人名称 | 深圳市帝狼光电有限公司 |
| 申请人地址 | 广东省深圳市宝安区石岩街道石龙社区恒昌荣工业园1、2、3、4栋厂房(2栋4楼B区) |
专利法律状态
2023-08-22
授权
状态信息
授权
摘要
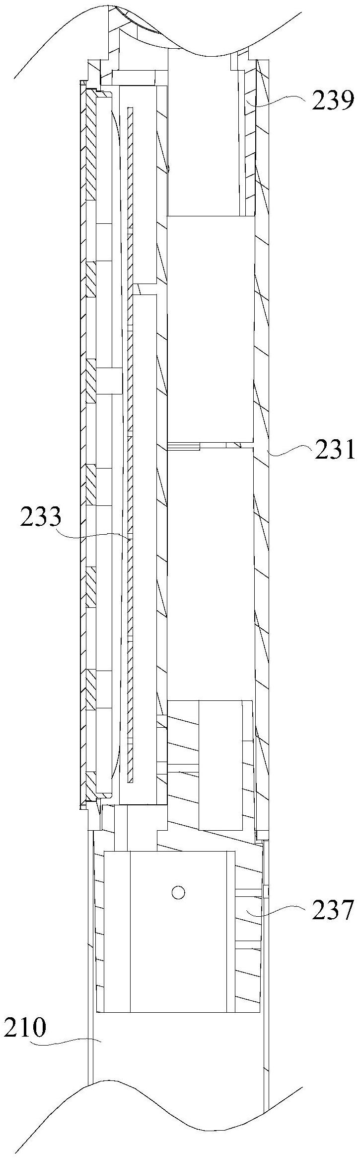
本实用新型涉及一种落地灯,包括底座、灯杆组件和灯头,灯杆组件包括第一灯杆、第二灯杆和轴套组件,轴套组件包括绝缘轴套以及连接于绝缘轴套的触控板,第一灯杆的一端连接于底座,第一灯杆的相对的另一端连接于绝缘轴套的一端,绝缘轴套的相对的另一端连接于第二灯杆的一端,灯头连接于第二灯杆的相对的另一端。由于触控板设置于绝缘轴套,绝缘轴套的相对的两端分别连接第一灯杆和第二灯杆,绝缘轴套可以防止触控板与金属材质的第一灯杆或第二灯杆导通而影响触控操作,第一灯杆、绝缘轴套和第二灯杆的组装较为便捷,且绝缘轴套易于加工成与第一灯杆或第二灯杆接近的外形,以提升落地灯的外观整体性。


