授权公布号:CN218115582U
一种立式镀膜挂片夹具
有效
申请
2022-08-12
申请公布
1970-01-01
授权
2022-12-23
预估到期
2032-08-12
| 申请号 | CN202222120668.2 |
| 申请日 | 2022-08-12 |
| 授权公布号 | CN218115582U |
| 授权公告日 | 2022-12-23 |
| 分类号 | C23C14/50;C23C14/34 |
| 分类 | 对金属材料的镀覆;用金属材料对材料的镀覆;表面化学处理;金属材料的扩散处理;真空蒸发法、溅射法、离子注入法或化学气相沉积法的一般镀覆;金属材料腐蚀或积垢的一般抑制〔2〕; |
| 申请人名称 | 惠晶显示科技(苏州)有限公司 |
| 申请人地址 | 江苏省苏州市张家港市凤凰镇凤凰大道9号 |
专利法律状态
2022-12-23
授权
状态信息
授权
摘要
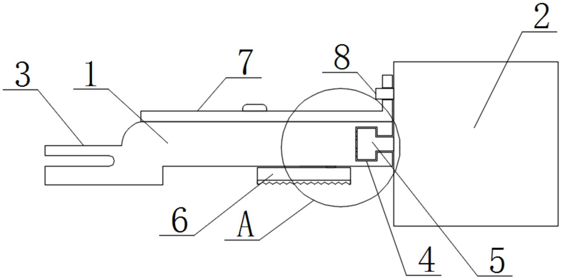
本实用新型公开了一种立式镀膜挂片夹具,包括设置在固定柱一侧的主体,所述主体的一端固定有新型接触CF面,所述主体的另一端开设有截面呈“T”型结构的容纳孔,所述容纳孔的内部嵌入有截面呈“T”型结构的金属桩,所述金属桩的一端与固定柱固定连接,所述金属桩的另一端对称开设有两个卡槽;通过设计的新型接触CF面,由于其比传统的接触CF面薄,在玻璃片表面镀膜过程中,靶材溅射玻璃片表面效果好,避免玻璃基板未镀上膜,影响镀膜质量,通过设计的容纳孔、金属桩、拨动板、卡槽、卡销,方便对主体进行快速安装与拆卸,出现损坏时有利于更换。


