授权公布号:CN218110327U
一种玻璃表面不良的修复工具
有效
申请
2022-07-13
申请公布
1970-01-01
授权
2022-12-23
预估到期
2032-07-13
| 申请号 | CN202221808619.1 |
| 申请日 | 2022-07-13 |
| 授权公布号 | CN218110327U |
| 授权公告日 | 2022-12-23 |
| 分类号 | B24B23/02;B24B55/05 |
| 分类 | 磨削;抛光; |
| 申请人名称 | 惠晶显示科技(苏州)有限公司 |
| 申请人地址 | 江苏省苏州市张家港市凤凰镇凤凰大道9号 |
专利法律状态
2022-12-23
授权
状态信息
授权
摘要
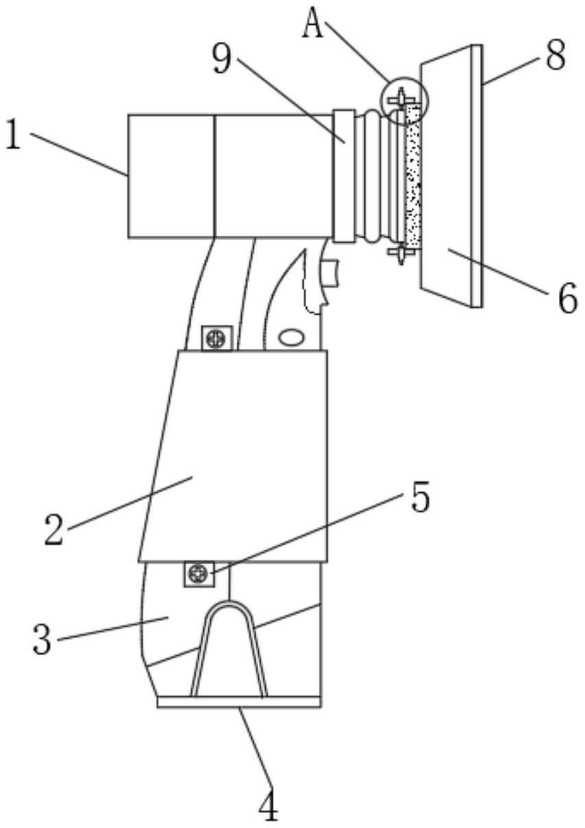
本实用新型公开了一种玻璃表面不良的修复工具,包括枪身、枪头和打磨圆垫,所述枪头的侧面设置有安装头,所述安装头上设置有转动杆,所述转动杆的端部延伸至所述打磨圆垫的表面,所述枪头上设置有防护机构,所述防护机构包括防护罩,所述防护罩的一侧固定设置有圆布,所述防护罩的另一侧固定设置有安装环,所述安装环的顶部和底部均固定设置有固定条;本实用新型通过设计的防护机构,便于在使用中可以对打磨圆垫在对液晶面板玻璃进行打磨过程中产生的灰尘进行阻挡,防止灰尘飞溅到操作人员的手上和眼睛里,通过防护罩和圆布进行阻挡,可以防止灰尘飞溅出来,提升了操作人员在操作过程中的安全性,也提升了操作人员的操作感受。


