授权公布号:CN217878848U
一种透明玻璃的检验工具
有效
申请
2021-08-05
申请公布
1970-01-01
授权
2022-11-22
预估到期
2031-08-05
| 申请号 | CN202121817863.X |
| 申请日 | 2021-08-05 |
| 授权公布号 | CN217878848U |
| 授权公告日 | 2022-11-22 |
| 分类号 | G01N21/01;G01N21/958 |
| 分类 | 测量;测试; |
| 申请人名称 | 惠晶显示科技(苏州)有限公司 |
| 申请人地址 | 江苏省苏州市凤凰镇双龙村 |
专利法律状态
2022-11-22
授权
状态信息
授权
摘要
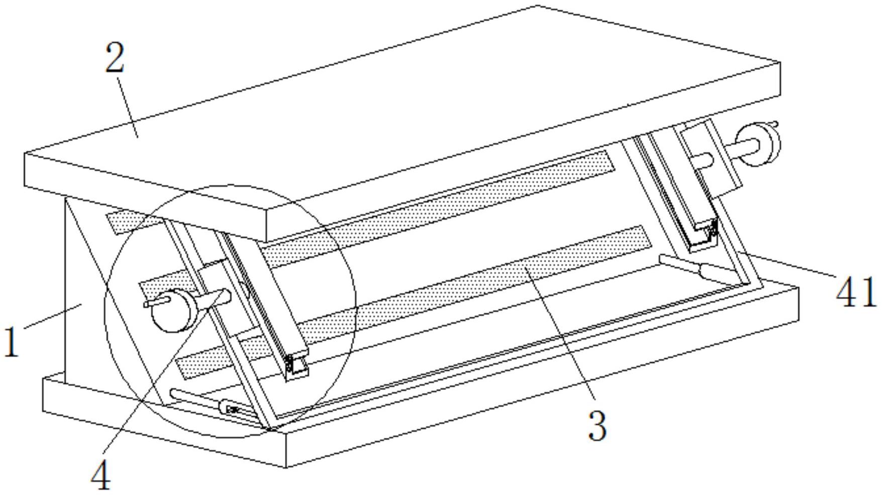
本实用新型公开了一种透明玻璃的检验工具,包括检验台、灯管和支撑夹持组件,所述检验台前表面嵌入安装有灯管,所述支撑夹持组件安装在检验台前表面,所述支撑夹持组件包括支撑架、夹持板组、固定凸板和螺杆,所述支撑架安装在检验台前表面,二者之间留有二十厘米距离,所述固定凸板垂直固定在支撑架前表面,“U”型的所述夹持板组位于固定凸板内侧;本实用新型通过设置有支撑夹持组件,既不影响玻璃板的检验工作,又可对玻璃板进行卡紧夹持,增加其放置稳固性,降低其因为外力出现偏移晃动而影响检验的几率,且对玻璃板的卡紧距离可调节,同时可让玻璃板远离检验台避免台面颜色的干扰,增加检验便捷性,防止漏检,提高拦截。


