授权公布号:CN218951263U
顶喷式液晶面板减薄蚀刻机固定液晶玻璃用夹具
有效
申请
2022-12-30
申请公布
1970-01-01
授权
2023-05-02
预估到期
2032-12-30
| 申请号 | CN202223570874.X |
| 申请日 | 2022-12-30 |
| 授权公布号 | CN218951263U |
| 授权公告日 | 2023-05-02 |
| 分类号 | C03C15/00 |
| 分类 | 玻璃;矿棉或渣棉; |
| 申请人名称 | 惠晶显示科技(苏州)有限公司 |
| 申请人地址 | 江苏省苏州市张家港市凤凰镇凤凰大道9号 |
专利法律状态
2023-05-02
授权
状态信息
授权
摘要
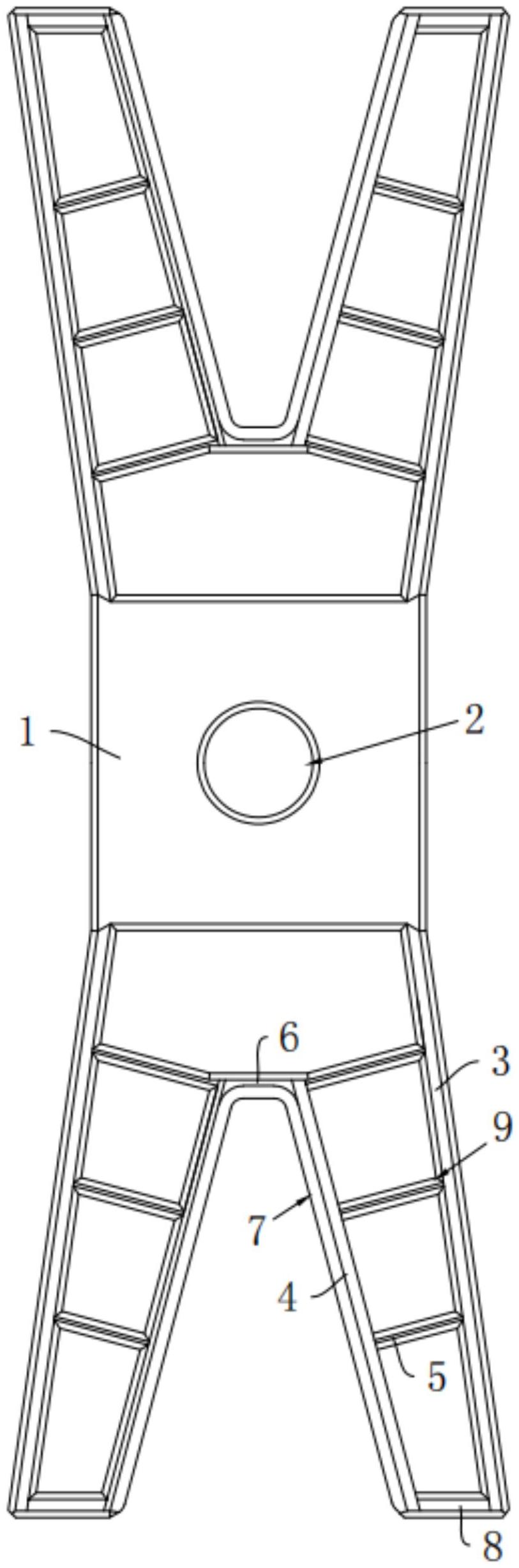
本申请涉及液晶面板减薄的领域,尤其是涉及一种顶喷式液晶面板减薄蚀刻机固定液晶玻璃用夹具,其包括固定块,固定块的周侧设置有多组限位组件,限位组件包括两个外支撑杆,两个外支撑杆相向的一侧均设置有内支撑杆,内支撑杆和外支撑杆之间固定连接有多个加强筋,两个内支撑杆靠近固定块的端部之间固定连接有第一连接杆,两个内支撑杆靠近固定块的一端呈锐角夹角设置;本申请中玻璃板与内支撑杆之间为点接触,减小了夹具与玻璃板之间的接触面积,利于在保证夹具支撑功能的前提下,实现避免玻璃板减薄面产生干扰纹的效果,利于确保玻璃板得到均匀的蚀刻薄化。


