授权公布号:CN218107133U
一种镀膜腔体破真空过滤装置
有效
申请
2022-08-12
申请公布
1970-01-01
授权
2022-12-23
预估到期
2032-08-12
| 申请号 | CN202222120307.8 |
| 申请日 | 2022-08-12 |
| 授权公布号 | CN218107133U |
| 授权公告日 | 2022-12-23 |
| 分类号 | B01D46/56;B01D46/88;B01D46/10;B01D46/42;B08B5/04 |
| 分类 | 一般的物理或化学的方法或装置; |
| 申请人名称 | 惠晶显示科技(苏州)有限公司 |
| 申请人地址 | 江苏省苏州市张家港市凤凰镇凤凰大道9号 |
专利法律状态
2022-12-23
授权
状态信息
授权
摘要
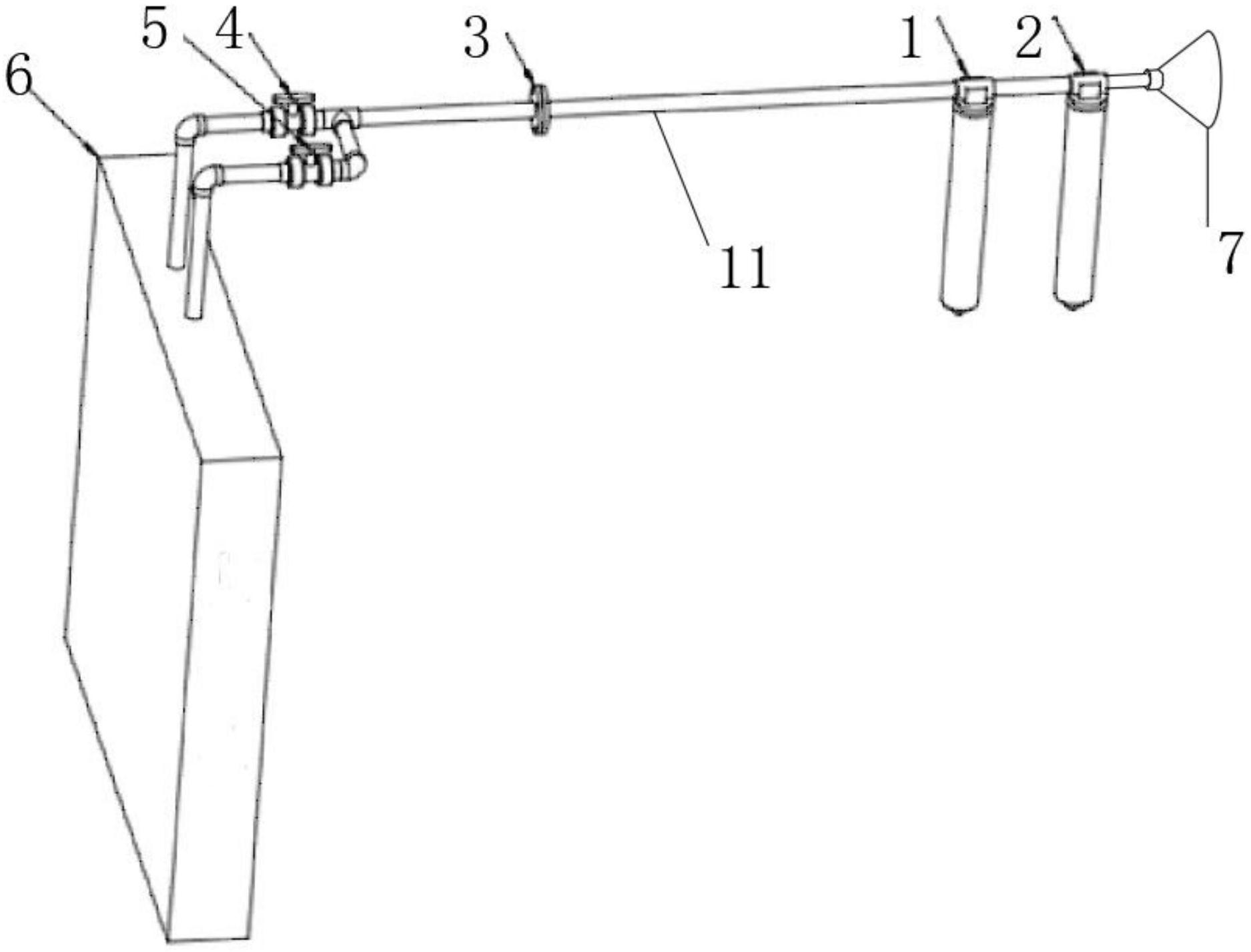
本实用新型公开了一种镀膜腔体破真空过滤装置,包括镀膜腔体,所述镀膜腔体的顶部固定装设有两个进气管,一个所述进气管上装设有第一调节阀,另一个所述进气管上固定装设有第二调节阀,所述第一调节阀与第二调节阀并联连通装设在所述镀膜腔体上,当第一调节阀与第二调节阀使用调节时;通过在该装置的镀膜腔体的一端设置用于过滤空气的滤芯,通过空气滤芯过滤空气中的颗粒物,再通过调节阀控制空气吸入量大小,能有效控制产品在镀膜腔体内部瞬间吸入空气压力,减少瞬间气压,同时减少产品破片风险,且在该装置的管路的一端设置有进气罩,同时设置的进气罩上的网板通过卡设安装,网板可将大颗粒杂物过滤,方便进行拆装清理。


