授权公布号:CN214726411U
汽车内饰件油温加热设备
有效
申请
2021-02-01
申请公布
1970-01-01
授权
2021-11-16
预估到期
2031-02-01
| 申请号 | CN202120279687.2 |
| 申请日 | 2021-02-01 |
| 授权公布号 | CN214726411U |
| 授权公告日 | 2021-11-16 |
| 分类号 | B29C51/18;B29C51/42;B29C51/46;B29C51/44;B29L31/58N |
| 分类 | 塑料的加工;一般处于塑性状态物质的加工; |
| 申请人名称 | 南京星德机械有限公司 |
| 申请人地址 | 江苏省南京市江宁区滨江开发区翔凤路19号厂房二东一楼 |
专利法律状态
2021-11-16
授权
状态信息
授权
摘要
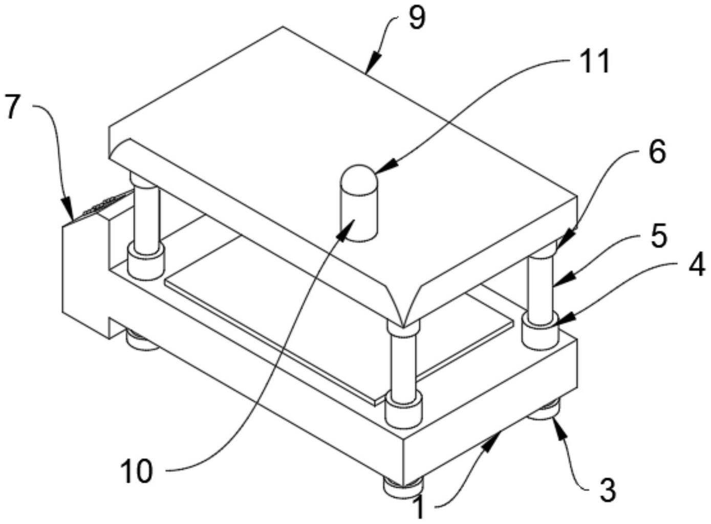
本实用新型公开了汽车内饰件油温加热设备,涉及汽车内饰件油温加热设备技术领域,为解决现有汽车内饰件油温加热设备在加工完成后,因物料温度高,取下来时过程比较繁琐,大大增加了下料的时间的问题。所述下压底座的下端安装有固定底座,且固定底座设置有四个,所述固定底座的下端安装有橡胶防滑垫,且橡胶防滑垫设置有四个,所述下压底座的上端安装有支撑液压下底座,且支撑液压下底座设置有四个,所述支撑液压下底座的上端安装有伸缩液压杆,且伸缩液压杆设置有四个,所述伸缩液压杆的上端安装有液压上底座,且液压上底座设置有四个。


