授权公布号:CN213055629U
一种具有自补油功能的油温机
有效
申请
2020-08-14
申请公布
1970-01-01
授权
2021-04-27
预估到期
2030-08-14
| 申请号 | CN202021691665.9 |
| 申请日 | 2020-08-14 |
| 授权公布号 | CN213055629U |
| 授权公告日 | 2021-04-27 |
| 分类号 | B29C35/04;B29C35/00 |
| 分类 | 塑料的加工;一般处于塑性状态物质的加工; |
| 申请人名称 | 旭讯机械(苏州)有限公司 |
| 申请人地址 | 江苏省苏州市昆山市玉山镇龙生路258号4号房 |
专利法律状态
2021-04-27
授权
状态信息
授权
摘要
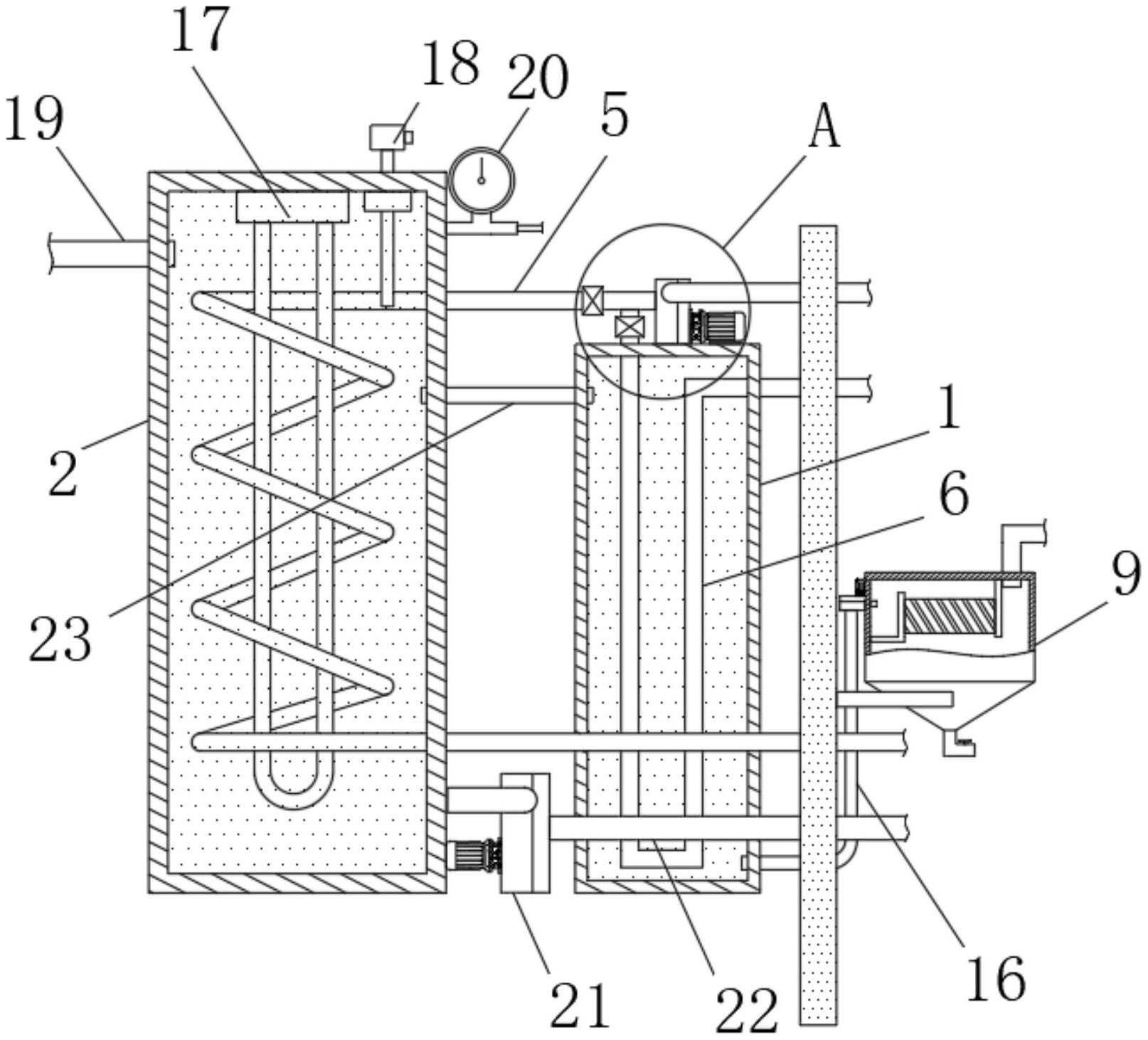
本实用新型涉及油温机技术领域,且公开了一种具有自补油功能的油温机,包括冷却箱和储油箱,所述冷却箱和储油箱之间固定连接有连接管,所述冷却箱远离储油箱一侧设置有沉淀装置,所述冷却箱顶部固定连接有水泵,所述水泵输入端固定连接有进水管,所述水泵输出端固定连接有第一出水管,所述第一出水管上固定连接有第二出水管,所述第一出水管上固定设置有第一电磁阀。该具有自补油功能的油温机,在需要关机时,关闭第二电磁阀并打开第一电磁阀,通过第一出水管可对储油箱内部导热油进行降温,使其快速降低至标准温度以下,进而减少了关机时等待的时间,更加方便,通过设置沉淀箱,有利于将回收的导热油内的杂质进行沉淀处理。


