授权公布号:CN212953032U
一种升降吸盘的控制装置
有效
申请
2020-08-31
申请公布
1970-01-01
授权
2021-04-13
预估到期
2030-08-31
| 申请号 | CN202021865197.2 |
| 申请日 | 2020-08-31 |
| 授权公布号 | CN212953032U |
| 授权公告日 | 2021-04-13 |
| 分类号 | B65G47/91 |
| 分类 | 输送;包装;贮存;搬运薄的或细丝状材料; |
| 申请人名称 | 百能数控设备(福建)有限公司 |
| 申请人地址 | 福建省宁德市福鼎市桐城街道三门口工业小区3号 |
专利法律状态
2021-04-13
授权
状态信息
授权
摘要
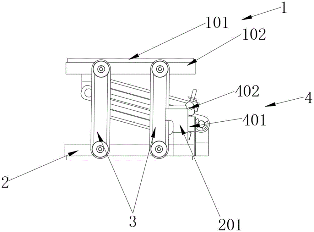
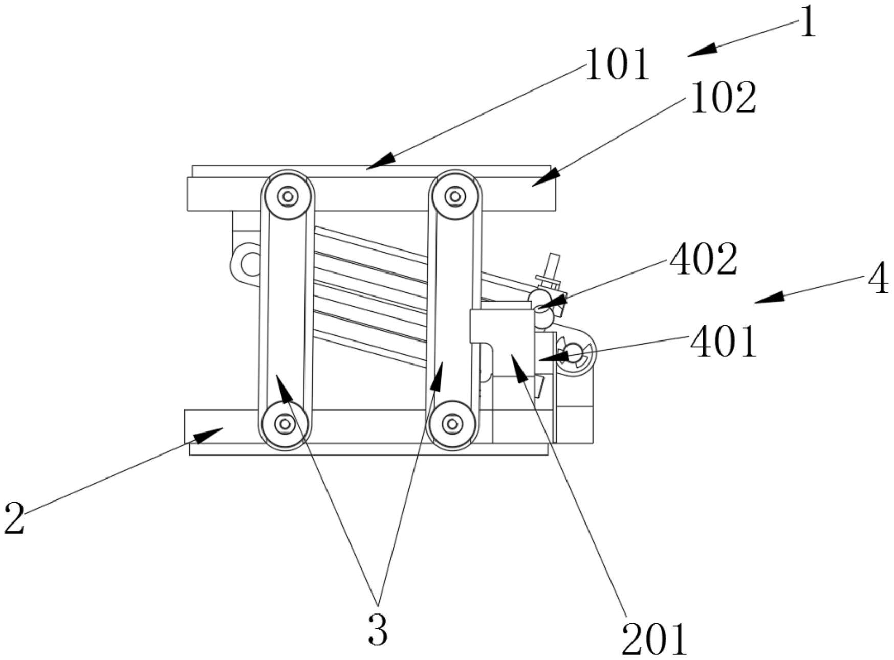
本实用新型涉及一种升降吸盘的控制装置。包括吸盘组件、固定在玻璃加工中心上的吸盘底座和设置在所述吸盘组件与吸盘底座之间的机械两位三通阀,所述机械两位三通阀一位外接真空管,另一位与所述吸盘组件连接;所述吸盘组件和所述吸盘底座两侧对称设置有若干根摆臂,若干根所述摆臂两端分别与所述吸盘组件和所述吸盘底座铰接,且设置在同一侧的若干根所述摆臂相互平行设置;所述机械两位三通阀包括与所述吸盘底座固定连接的阀体和设置在所述阀体上方的机械三通阀滚轮。本实用新型其操作简便、实用,成本相比电磁阀更低,且能够让加工台面更加整洁、美观。


