授权公布号:CN213316708U
一种基板清洗机挂架安全轮
有效
申请
2020-09-09
申请公布
1970-01-01
授权
2021-06-01
预估到期
2030-09-09
| 申请号 | CN202021951099.0 |
| 申请日 | 2020-09-09 |
| 授权公布号 | CN213316708U |
| 授权公告日 | 2021-06-01 |
| 分类号 | B08B13/00;B08B11/04 |
| 分类 | 清洁; |
| 申请人名称 | 东莞市宏诚光学制品有限公司 |
| 申请人地址 | 广东省东莞市茶山镇黄岭路62号 |
专利法律状态
2021-06-01
授权
状态信息
授权
摘要
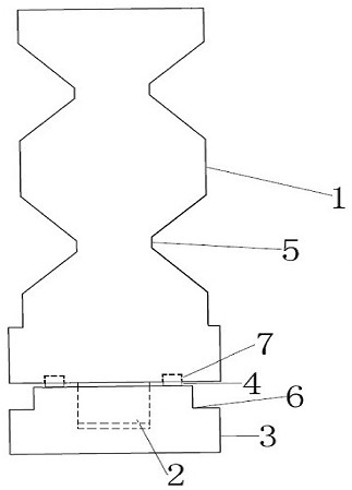
本实用新型公开一种基板清洗机挂架安全轮,包括轮身、安全轮螺丝、安全轮螺帽和防水圈,所述轮身的上下两端分别开设有凹槽,所述轮身的下底面设置有安全轮螺丝,所述安全轮螺丝上连接有安全轮螺帽,所述安全轮螺帽的上底面边缘设有两个卡槽,所述轮身的下底面还设置有防水槽,所述防水槽内设有防水圈。本实用新型通过在安全轮螺帽上设置卡槽,使安全轮在锁紧时更加牢固,通过设置防水圈,防止药水渗入安全轮螺丝和安全轮螺帽。本实用新型结构简单,节省了基板的清洗步骤,提高了基板的清洗效率。


